- Partiron
- OEM Parts
- Yamaha
- snowmobile
- 1987
- SR540L (SRV) 1987
STEERING
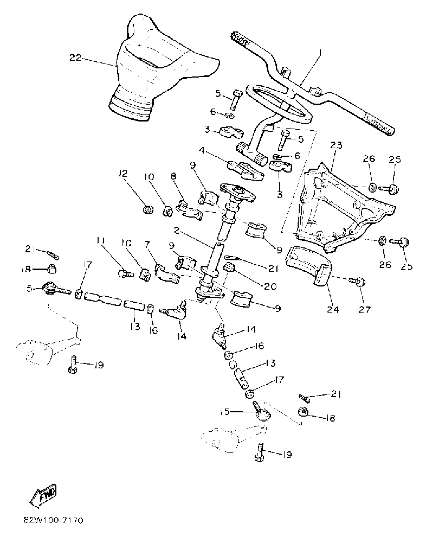
Yamaha SR540L (SRV) 1987 STEERING Diagram
#
Description
Price
1
COLUMN, STEERING
81R-23811-00-00
Unavailable
2
COLUMN, STEERING 2
8L8-23813-00-00
Unavailable
4
HANDLE, HOLDER
164-23441-01-98
Unavailable
7
BRACKET, STEERING LOWER
84M-23868-00-00
Unavailable
8
HOLDER, BEARING
84M-23872-00-00
Unavailable
9
BEARING, STEERING
8F3-23812-00-00
Unavailable
13
ROD,STEERING RELAY
85L-23821-00-00
Unavailable
13
ROD, STEERING RELAY
8U7-23821-10-00
Unavailable
15
JOINT, UNIVERSAL 3
87S-23847-01-00
Unavailable
16
NUT (682)
95380-10700-00
Unavailable
17
NUT, HEXAGON (8A5)
90170-10186-00
Unavailable
18
NUT, NYLON
95707-10300-00
Unavailable
19
BOLT, WITH HOLE
90102-10031-00
Unavailable
20
NUT, SELF-LOCKING (8J8)
90185-10085-00
Unavailable
21
PIN, COTTER
91490-25020-00
Unavailable
22
PAD, STEERING
8L8-23815-01-00
Unavailable
23
. PAD, STEERING
8L8-23817-02-00
Unavailable
24
COVER, STEERING
8Y0-23818-00-00
Unavailable
25
SCREW, PAN HEAD W/WASHER
97607-05112-00
Unavailable
26
WASHER, PLATE 8067717800
90201-05029-00
Unavailable
27
SCREW, PAN HEAD WITH WASHER
97607-04314-00
Unavailable
