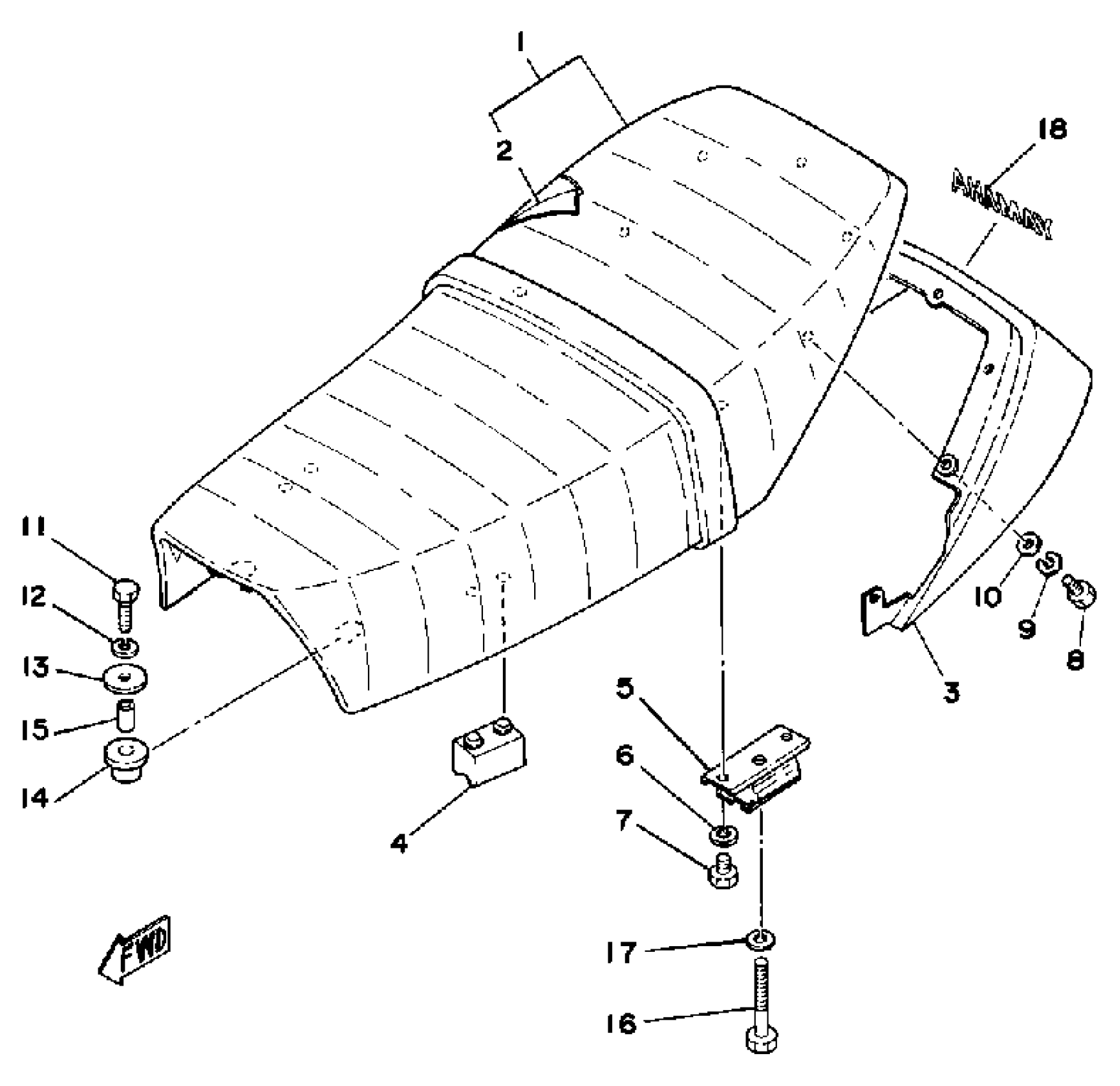
Yamaha SR500H (SR500H) 1981 SEAT Diagram
#
Description
Price
1
DOUBLE SEAT ASSEMBLY (2J2-24730-91)
2J2-W2472-01-00
Unavailable
2
. COVER, DOUBLE SEAT
2J2-24731-00-00
Unavailable
3
COVER, TAIL
2J2-24756-00-JX
Unavailable
4
DAMPER, SEAT 1
2J2-24723-00-00
Unavailable
5
DAMPER, SEAT 2
2J2-24724-01-00
Unavailable
6
WASHER, SPRING
92995-06100-00
Unavailable
12
WASHER, SPRING
92995-06100-00
Unavailable
16
BOLT, HEXAGON
90101-08439-00
Unavailable
17
YBS67-8 WASHER, SPRING
92990-08100-00
Unavailable
18
EMBLEM, YAMAHA
99245-00100-00
Unavailable
