- Partiron
- OEM Parts
- Yamaha
- motorcycle
- 1980
- SR500G (SR500G) 1980
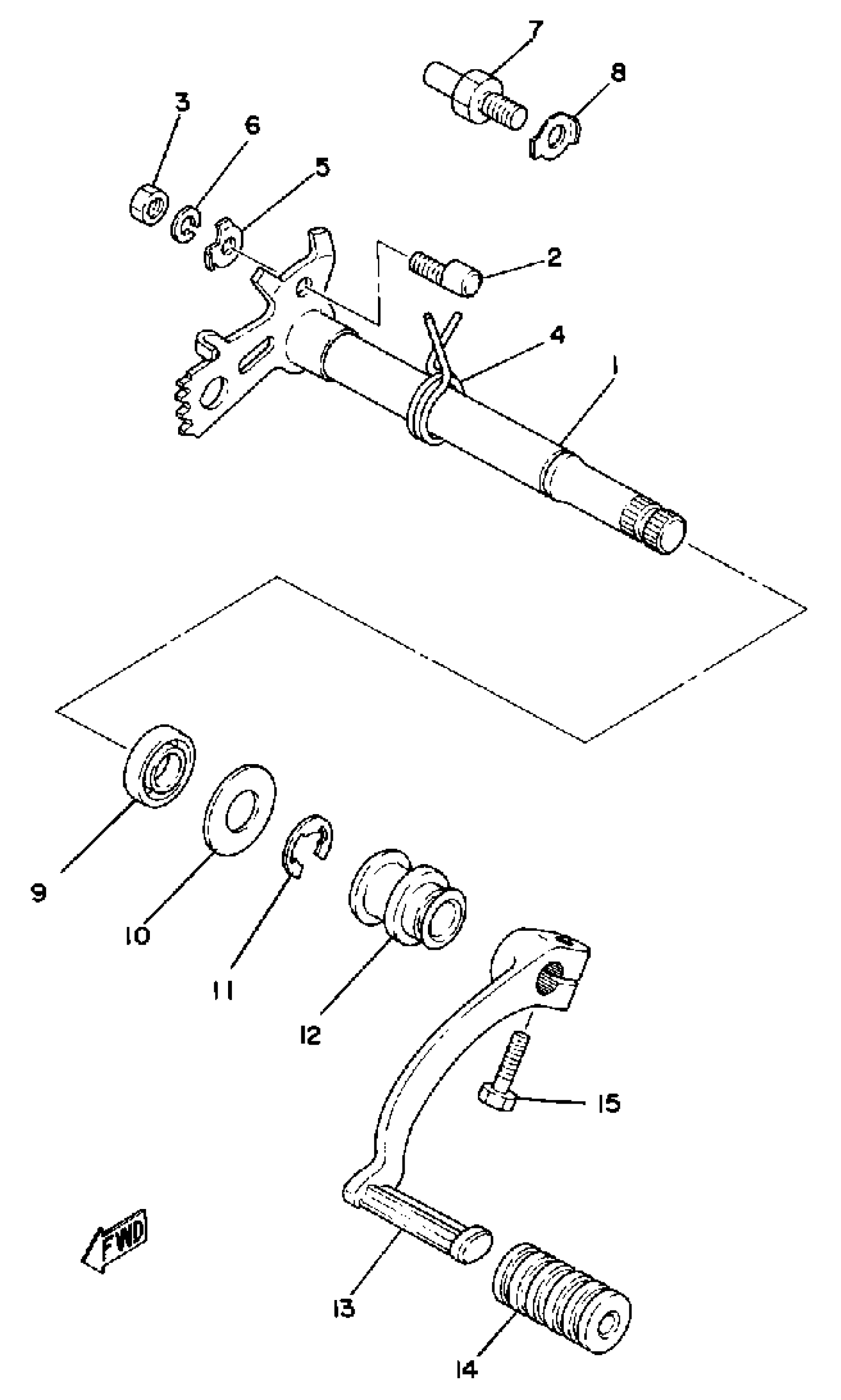
SHIFT SHAFT - PEDAL
Yamaha SR500G (SR500G) 1980 SHIFT SHAFT - PEDAL Diagram
#
Description
Price
3
NUT, HEXAGON
95380-06600-00
Unavailable
6
WASHER, SPRING
92995-06100-00
Unavailable
11
. CIRCLIP
99001-12600-00
Unavailable
