Partiron

Yamaha SR433B (SR433B) 1972 BUMPER Diagram

#

Description
Price

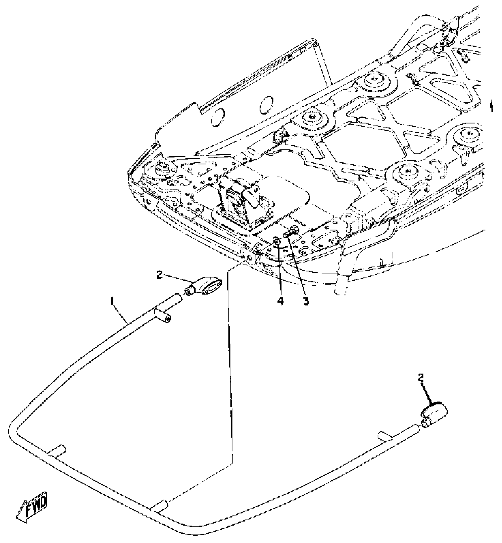
1

FRONT BUMPER

(820-77510-00-00)

Unavailable

2

END, BUMPER

(806-77523-00-00)

Unavailable

3

BOLT (682)

97013-08025-00

$8.49

4

YBS67-8 WASHER, SPRING

92990-08100-00

$5.60