- Partiron
- OEM Parts
- Yamaha
- motorcycle
- 2018
- SR400JL (SR400) 2RDG 2018
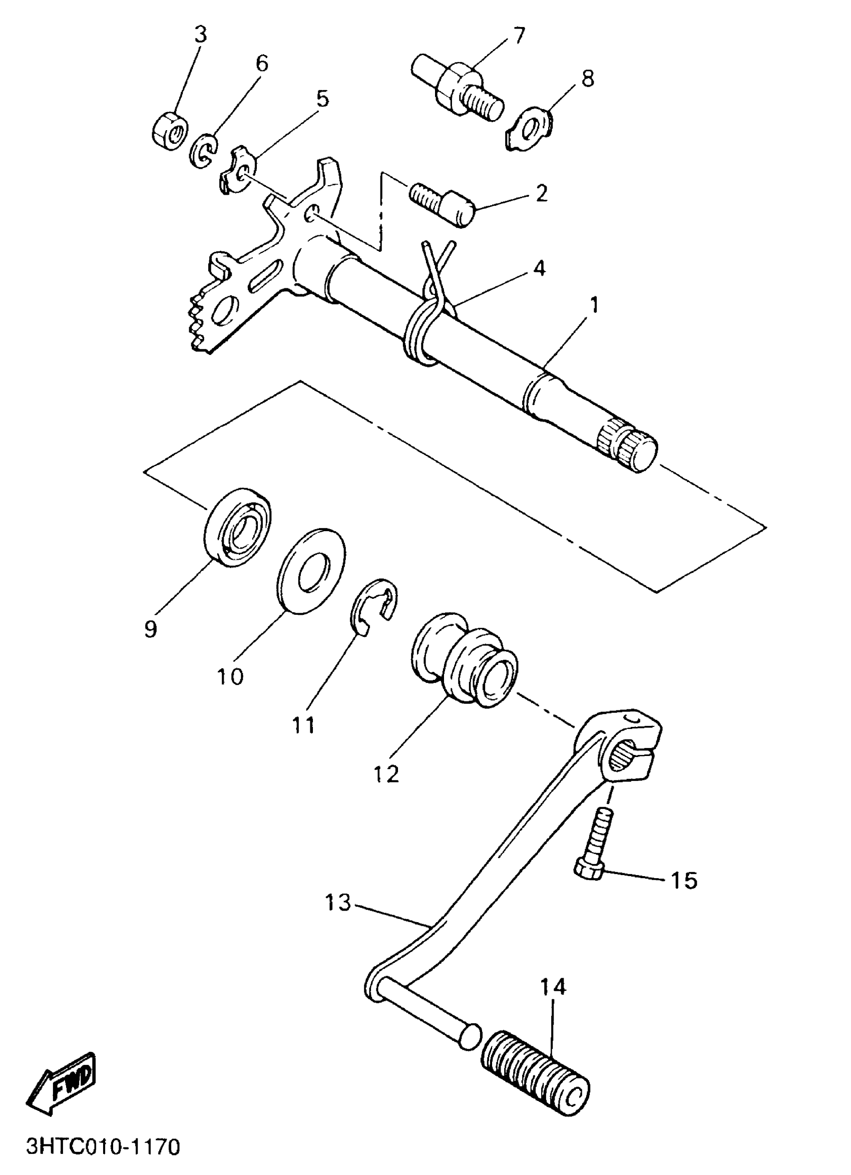
SHIFT SHAFT
Yamaha SR400JL (SR400) 2RDG 2018 SHIFT SHAFT Diagram
#
Description
Price
7
STOPPER, SCREW
3HT-18127-R0-00
Unavailable
11
. CIRCLIP
99001-12600-00
Unavailable
