Yamaha SR400GCB (SR400 CA) 2RDA 2016 CYLINDER Diagram
#
Description
Price
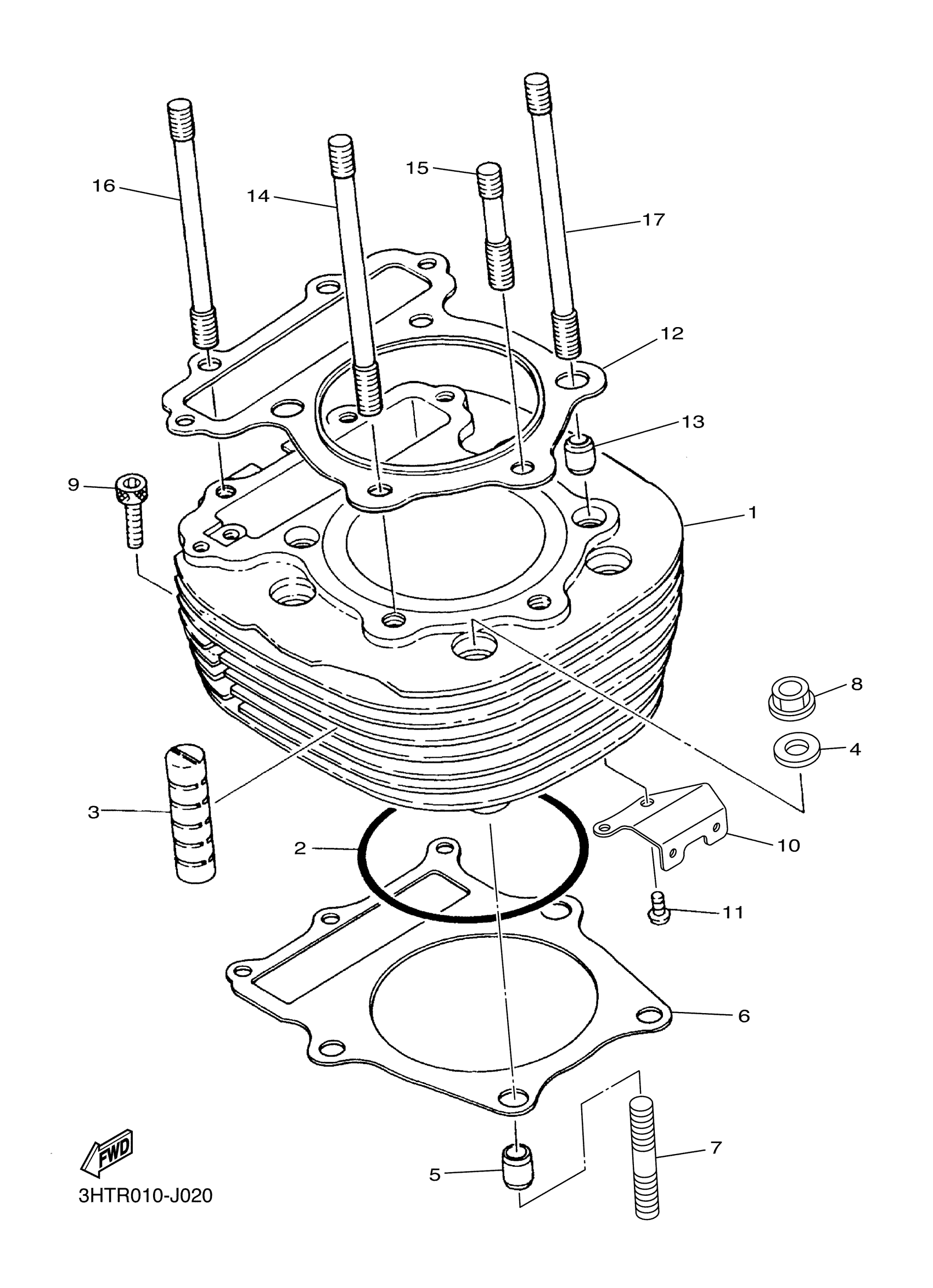
1
CYLINDER
3HT-11310-20-00
Unavailable
8
NUT
90179-10030-00
Unavailable
10
HOLDER
3HT-11395-00-00
Unavailable
12
GASKET, CYLINDER HEAD 1
3HT-11181-00-00
Unavailable
16
BOLT, STUD (583 CYLINDER)
90116-08190-00
Unavailable
17
BOLT, STUD (583)
90116-10225-00
Unavailable
