- Partiron
- OEM Parts
- Yamaha
- motorcycle
- 1980
- SR250G (SR250G) 1980
FRONT FORK
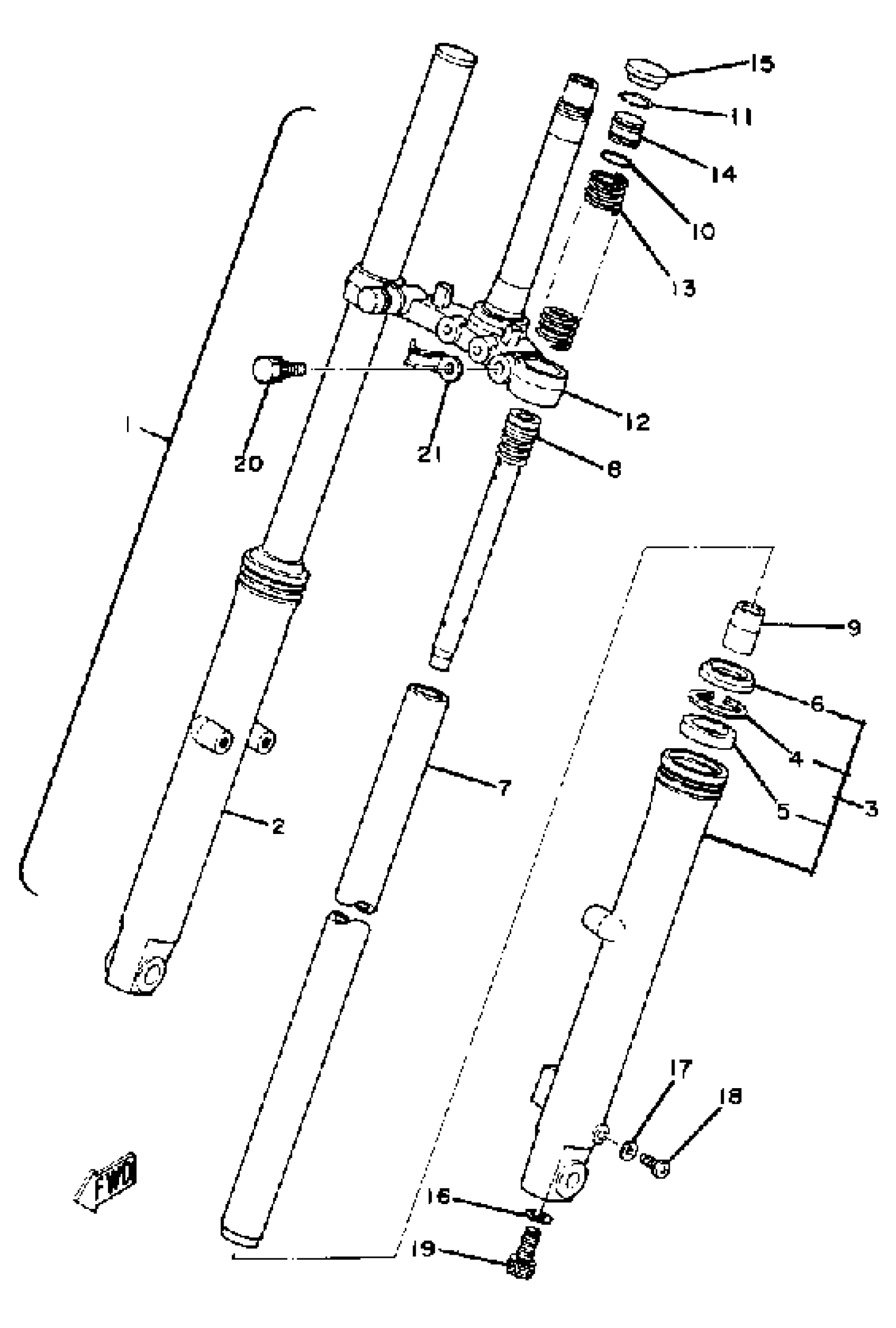
Yamaha SR250G (SR250G) 1980 FRONT FORK Diagram
#
Description
Price
1
FRONT FORK ASSEMBLY
(3Y6-23100-00-00)
Unavailable
2
OUTER TUBE COMP (R.H)
3Y6-23136-00-38
Unavailable
3
OUTER TUBE COMP (L.H)
3Y6-23126-00-38
Unavailable
4
RING, SNAP
15E-23153-00-00
Unavailable
5
OIL SEAL
2K5-23145-00-00
Unavailable
6
DUST SEAL
3Y6-23144-00-00
Unavailable
7
. INNER TUBE 1
3Y6-23110-00-00
Unavailable
8
. CYLINDER, FRT FORK
55F-23170-00-00
Unavailable
10
. GASKET
3Y6-23114-00-00
Unavailable
11
.. CIRCLIP
3Y6-23183-00-00
Unavailable
12
. UNDER BRACKET
3Y8-23340-G0-R4
Unavailable
13
SPRING, FRONT FORK
(3Y6-23141-00-00)
Unavailable
14
. BOLT, CAP
3Y6-23111-00-00
Unavailable
15
. CAP, FRONT FORK
3Y6-23168-00-00
Unavailable
16
GASKET
509-23158-L0-00
Unavailable
17
GASKET, DRAIN PLUG
122-23129-00-00
Unavailable
18
SCREW, PAN HEAD(3XP)
98517-04006-00
Unavailable
18
SCREW, PAN HEAD (713)
98580-04008-00
Unavailable
19
BOLT, HEXAGON SOCKET HEAD
3D8-23181-00-00
Unavailable
20
BOLT 1
122-23346-02-00
Unavailable
21
. HOLDER, CABLE 1
260-23318-40-00
Unavailable
