- Partiron
- OEM Parts
- Yamaha
- motorcycle
- 1982
- SR185J (SR185J) 1982
CARBURETOR
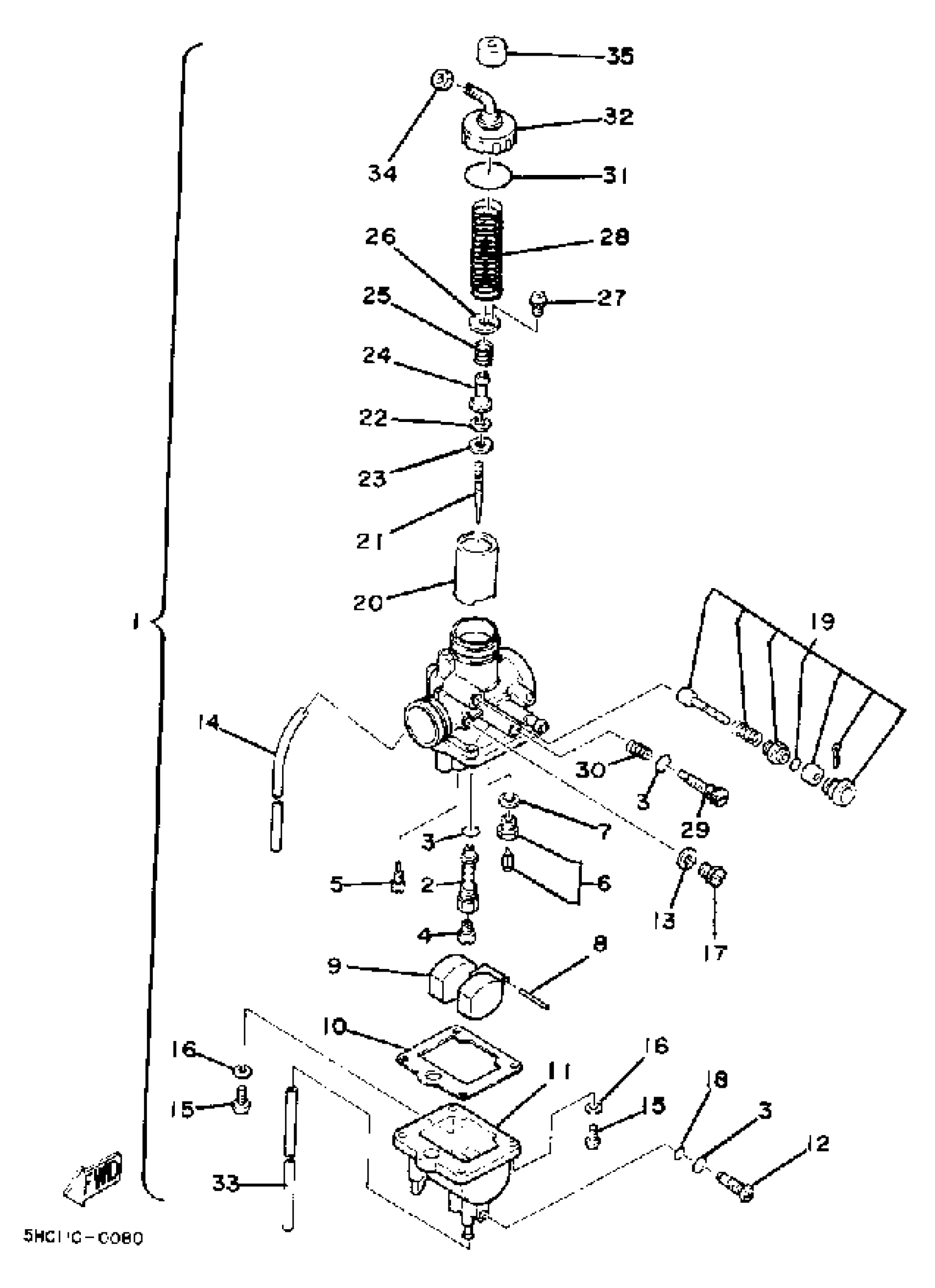
Yamaha SR185J (SR185J) 1982 CARBURETOR Diagram
#
1
CARBURETOR ASSEMBLY 1
5H0-14301-00-00
Unavailable
2
. NOZZLE, MAIN
5H0-14341-00-00
Unavailable
4
JET, MAIN (# 116)
288-14343-58-00
Unavailable
5
. JET, PILOT #38
367-14342-19-00
Unavailable
6
. NEEDLE VALVE ASSEMBLY (396-14390-25-00)
1J2-14390-25-00
Unavailable
8
. PIN, FLOAT
647-14386-10-00
Unavailable
9
FLOAT
367-14385-00-00
Unavailable
10
GASKET, FLOAT CHAMBER
5H0-14384-00-00
Unavailable
11
BODY, FLOAT CHAMBER
(5H0-14381-30-00)
Unavailable
12
. PLUG, SCREW
5H0-14115-00-00
Unavailable
14
. PIPE 1
5H0-14348-00-00
Unavailable
16
YBS67-4 WASHER, SPRING
92990-04100-00
Unavailable
17
SCREW
5H0-14991-00-00
Unavailable
18
O-RING
5H0-14397-00-00
Unavailable
19
STARTER SET
5H0-1410A-01-00
Unavailable
20
THROTTLE SCREW SET
4WP-14103-00-00
Unavailable
20
VALVE, THROTTLE 1
(5H0-14312-25-00)
Unavailable
21
NEEDLE
(5H0-14336-00-00)
Unavailable
22
. CLIP
389-14137-00-00
Unavailable
23
RING
(5H0-14918-00-00)
Unavailable
24
WASHER
(5H0-14227-00-00)
Unavailable
25
SPRING
(5H0-14589-00-00)
Unavailable
26
SEAT, SPRING
(5H0-14936-00-00)
Unavailable
27
SCREW, PAN HEAD (J10)
98580-03008-00
Unavailable
28
SPRING,THRTL VALVE
15E-14331-00-00
Unavailable
30
. SPRING, PILOT ADJUSTING
5H0-14212-00-00
Unavailable
31
. O-RING
1J2-14147-00-00
Unavailable
32
CAP, MIXING CHAMBER
(5H0-14168-00-00)
Unavailable
33
. PIPE
36F-14396-00-00
Unavailable
34
NUT, CABLE ADJUSTING
85L-14161-00-00
Unavailable
35
CAP
(789-14118-00-00)
Unavailable
