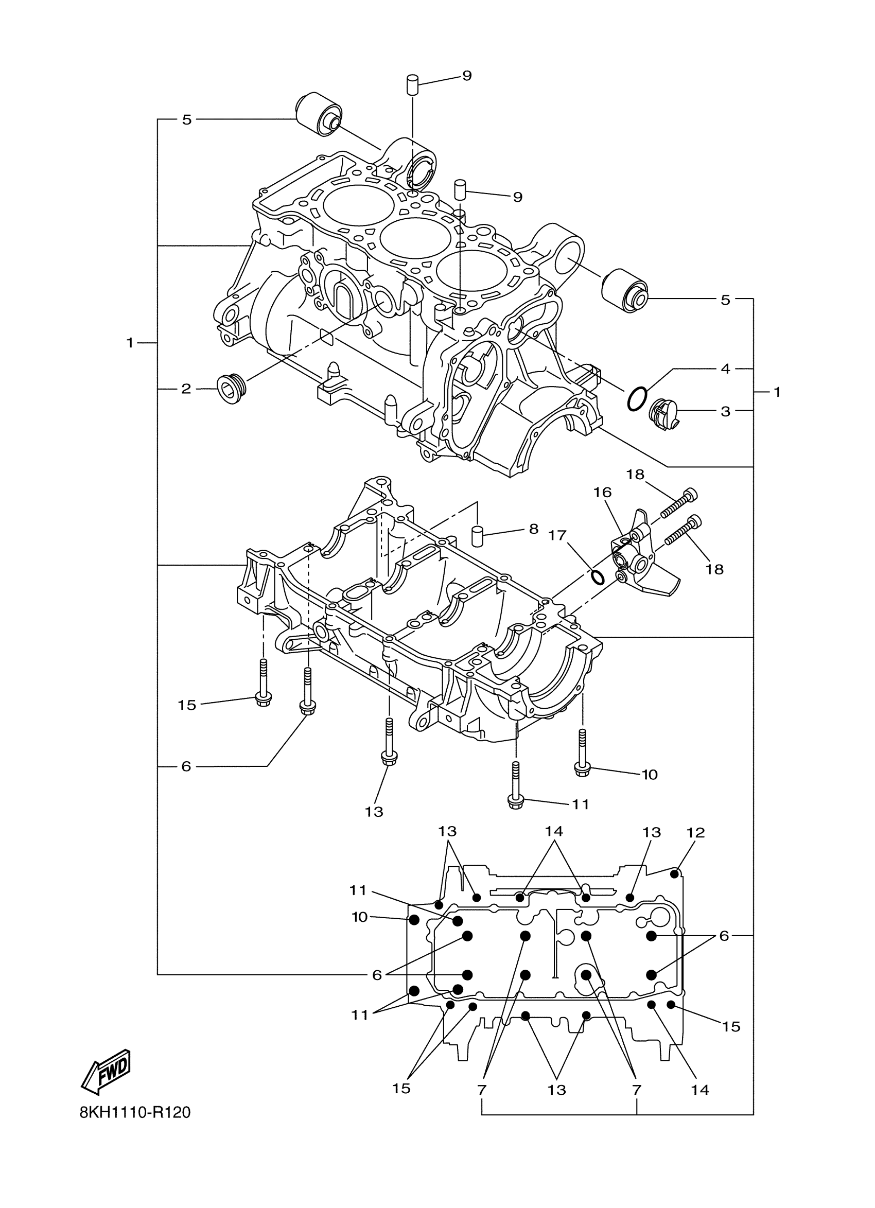
Yamaha SR10RDGR (SRVIPER R TX DX) 8JP30 2016 CRANKCASE Diagram
#
Description
Price
1
CRANKCASE ASSY
8KH-15109-09-00
Unavailable
5
DAMPER
8FA-2139X-00-00
Unavailable
16
JOINT
8JH-15319-00-00
Unavailable
17
O-RING(36Y)
93210-13657-00
Unavailable
18
BOLT, HEXAGON SOCKET HEAD(1VJ)
90110-06138-00
Unavailable
