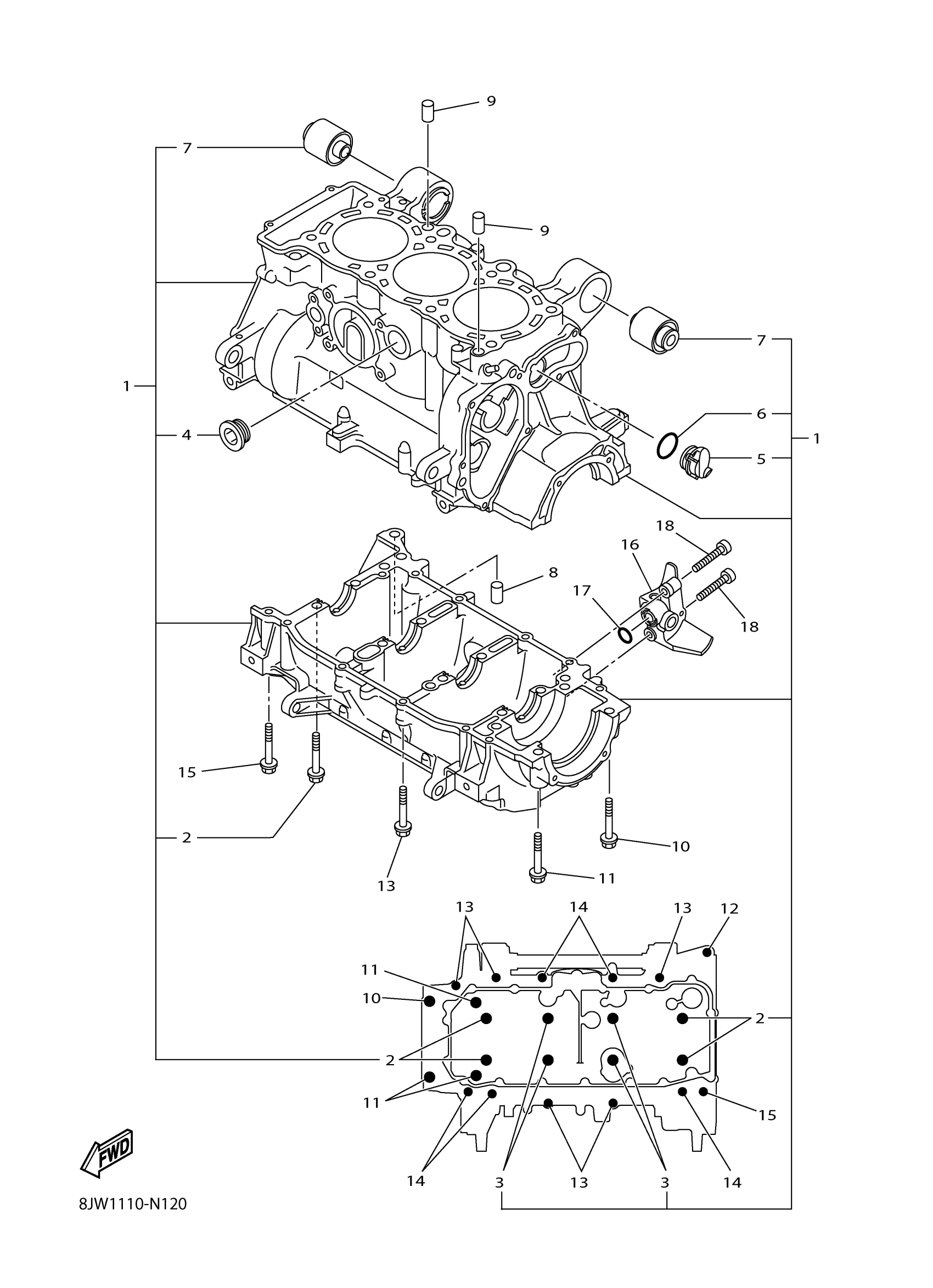
Yamaha SR10LLFO (SRVIPER L TX LE 1.75) 8KP1 2015 CRANKCASE Diagram
#
Description
Price
1
CRANKCASE ASSY
8JK-15109-08-00
Unavailable
7
DAMPER
8FA-2139X-00-00
Unavailable
16
JOINT
8JH-15319-00-00
Unavailable
17
O-RING(36Y)
93210-13657-00
Unavailable
18
BOLT, HEXAGON SOCKET HEAD(1VJ)
90110-06138-00
Unavailable
