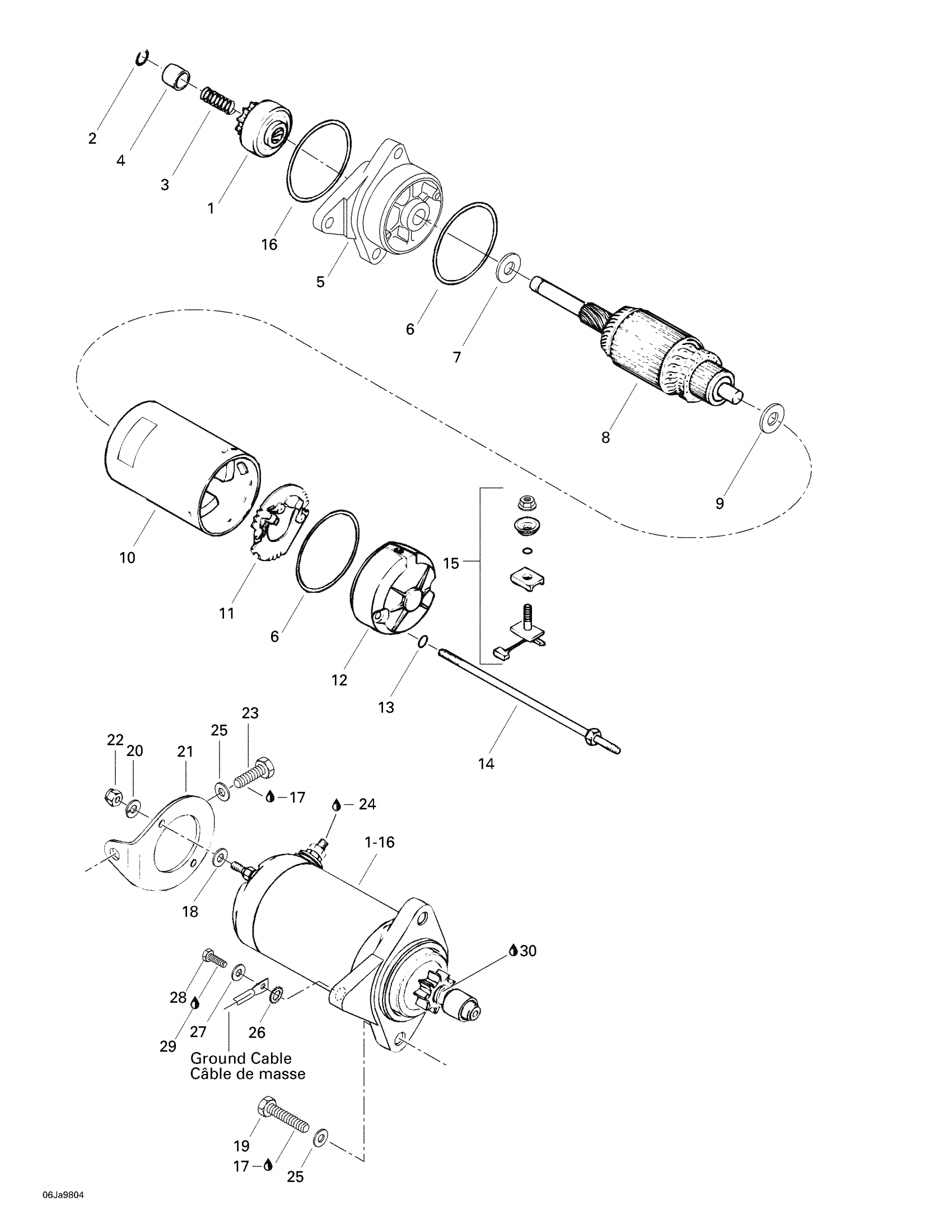
Sea-doo Sportster, 5614, 1998 Starter Diagram
#
Description
Price
1
Starter Clutch Ass'y
295500089
Unavailable
2
CIRCLIP - Call your local BRP dealership
278000048
Unavailable
3
SPRING - Call your local BRP dealership
278000168
Unavailable
4
Stopper Bushing
278000254
Unavailable
5
Housing Ass'y
278000697
Unavailable
7
Flat Washer
278000054
Unavailable
8
Armature
278000699
Unavailable
9
THRUST WASHER - Call your local BRP dealership
278000056
Unavailable
10
Yoke Ass'y
278000057
Unavailable
12
Commutator End Frame
278000251
Unavailable
13
O-RING - Call your local BRP dealership
278000060
Unavailable
14
RETAINER STUD - Call your local BRP dealership
278000170
Unavailable
16
O-RING - Call your local BRP dealership
278000694
Unavailable
21
Starter Support
270000080
Unavailable
23
Hex. Screw M8 x 16
215681660
Unavailable
26
WASHER-LOCK TOOTHED DIN.6797A-A2 - Call your local BRP dealership
213400001
Unavailable
28
HEX. SCREW M8 X 20 - Call your local BRP dealership
207182060
Unavailable
