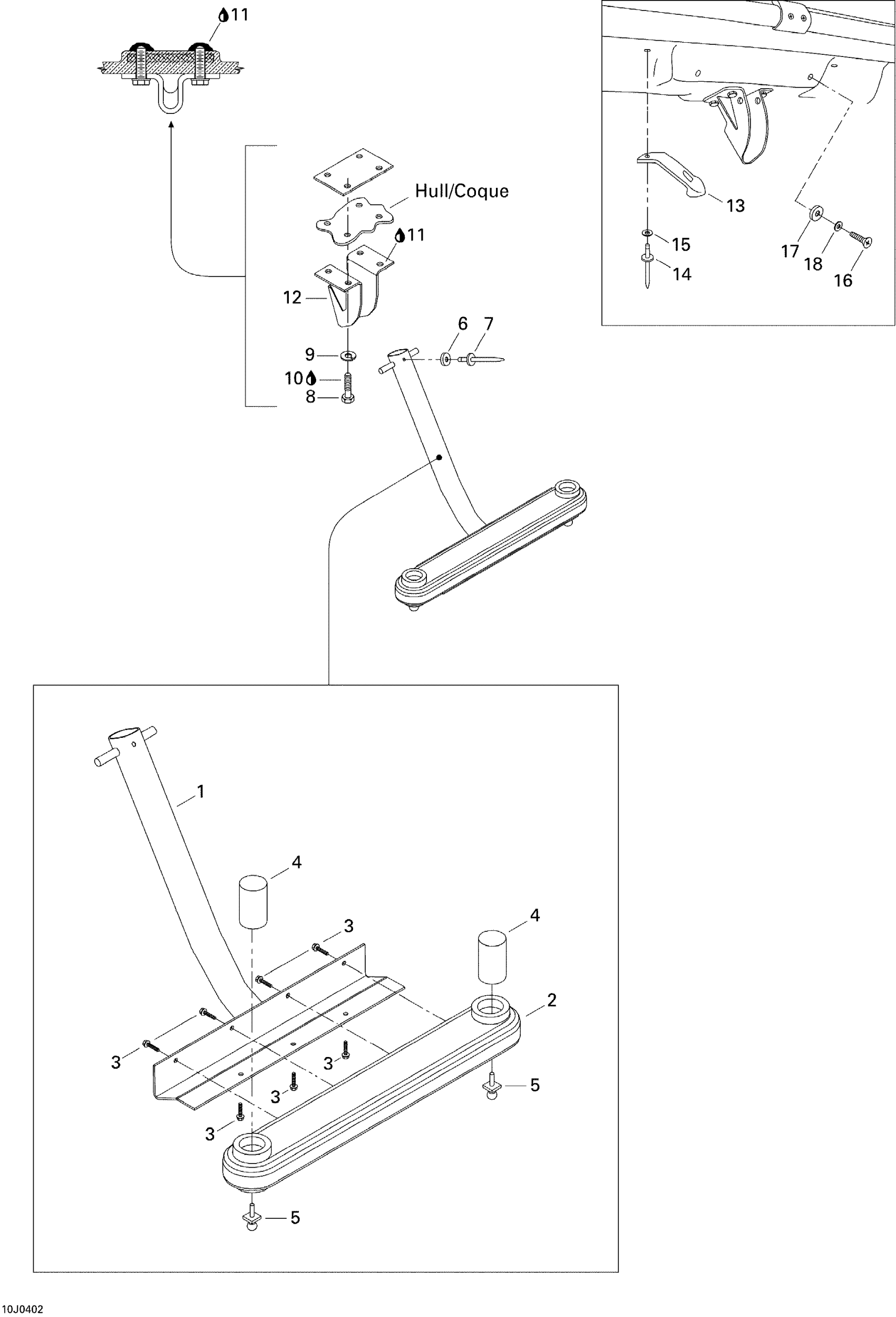
Sea-doo Sportster 4-TEC, 2004 Rear Ladder Diagram
#
Description
Price
1
STEP, WELD - Call your local BRP dealership
204060811
Unavailable
2
Step
291001279
Unavailable
3
Flange Screw K40 X 14
241641460
Unavailable
4
Cap
291001280
Unavailable
5
RETAINING KNOB - Call your local BRP dealership
293000085
Unavailable
6
BUMPER PAD - Call your local BRP dealership
204073815
Unavailable
12
Ladder Bracket
204060829
Unavailable
16
PHILLIPS SCREW 6 X 1/2 - Call your local BRP dealership
204100147
Unavailable
17
BUMPER PAD - Call your local BRP dealership
204073815
Unavailable
