- Partiron
- OEM Parts
- Polaris
- ATV
- 1998
- SPORTSMAN 500 - W98CH50AD
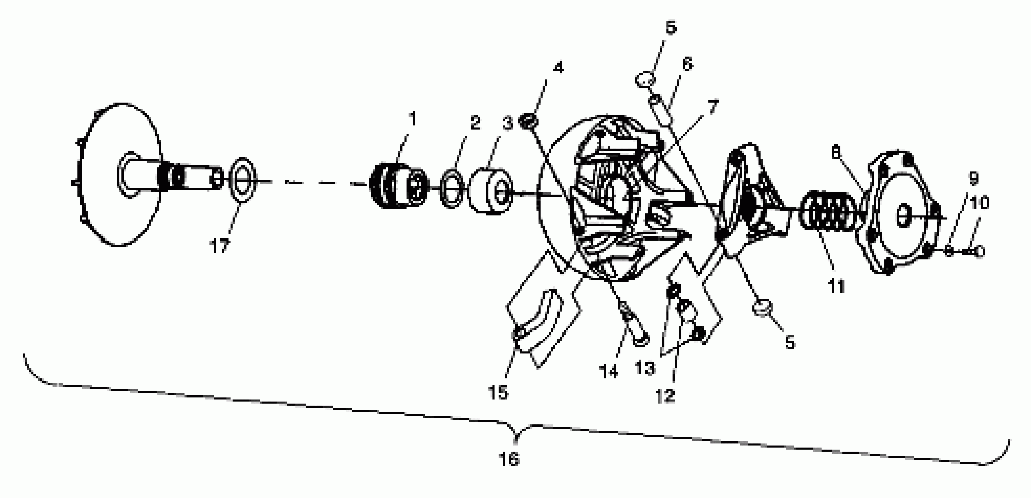
DRIVE CLUTCH - W98CH50A(C)(D)(E)(F) (4950135013c004)
Polaris SPORTSMAN 500 - W98CH50AD DRIVE CLUTCH - W98CH50A(C)(D)(E)(F) (4950135013c004) Diagram
#
Description
Price
3
SPACER Substituted by 5631119
5131646
Unavailable
5
BUTTON,CLUTCH
5431936
Unavailable
5
BUTTON,CLUTCH
5431936
Unavailable
10
BOLT(10) Substituted by 7512163
7512176
Unavailable
