Partiron

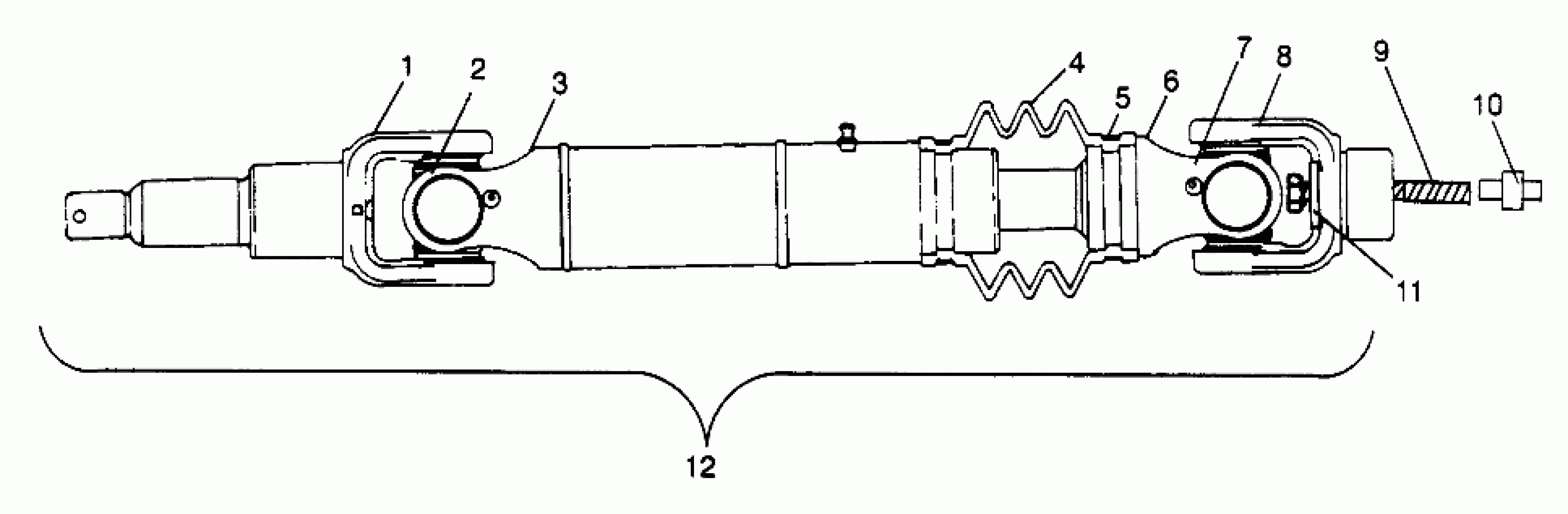
Polaris SPORTSMAN 500 - W969244 REAR DRIVE SHAFT SPORTSMAN 500 W969244 and SWEDISH SPORTSMAN 500 S969244 (4936093609B003) Diagram

#

Description
Price

1

YOKE Substituted by 3260137

5131368

Unavailable

2

JOINT,ASM.CARDAN,1200 SERIES

1590257

$47.99

3

YOKE,TUBE & SLEEVE

5131367

$339.99

4

BOOT,SHAFT,R.HALF

5411161

$43.99

5

CLAMP, (BOOT)

5241755

$27.99

6

YOKE,SHAFT

5131369

Unavailable

7

YOKE

5131370

$130.46

8

JOINT,ASM,CARDAN 1800 SERIES

1590256

$55.99

9

BOLT Substituted by 7515491

7515433

$1.59

10

SPACER,HALFSHAFT ATTACH.

5020890

Unavailable

11

WSHR-.813X.406X.105-Y

7555832

$2.39

12

DRIVESHAFT ASM,REAR Substituted by 1380110

1380087

Unavailable