- Partiron
- OEM Parts
- Polaris
- ATV
- 1996
- SPORTSMAN 500 - W969244
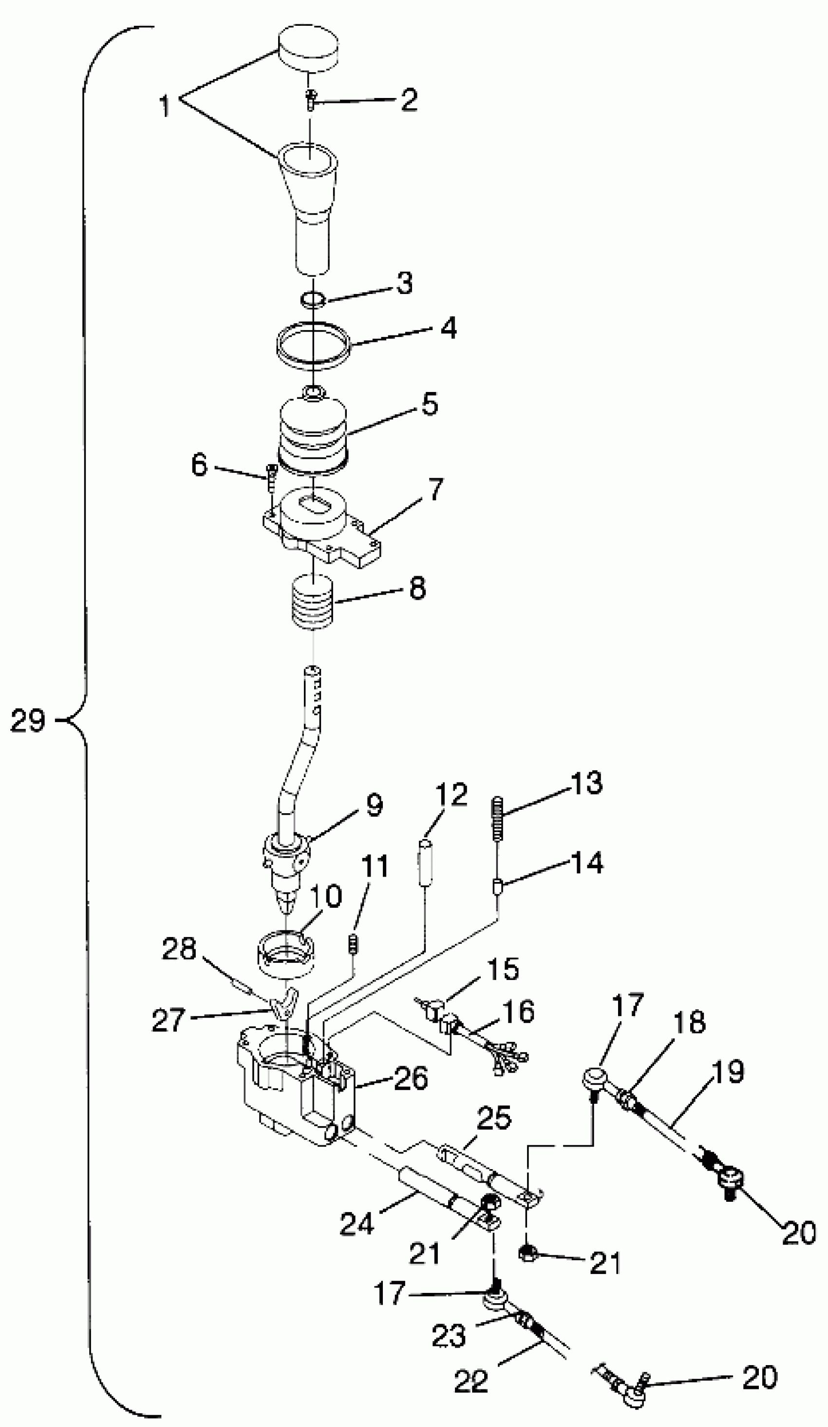
GEAR SELECTOR SPORTSMAN 500 W969244 and SWEDISH SPORTSMAN 500 S969244 (4936093609C012)
Polaris SPORTSMAN 500 - W969244 GEAR SELECTOR SPORTSMAN 500 W969244 and SWEDISH SPORTSMAN 500 S969244 (4936093609C012) Diagram
#
Description
Price
4
CLAMP
3233132
Unavailable
6
SCREW Substituted by 3233498
3233085
Unavailable
7
COVER,GEARSELECT,5-BOLT
3233204
Unavailable
8
SPRING,HOLDING
3233158
Unavailable
9
HANDLE SUBASM,(GS MAGNUM)
3233227
Unavailable
11
SPRING,CENTERING
3233083
Unavailable
12
PIN, STOP
3233062
Unavailable
13
SPRING,DETENT
3233069
Unavailable
21
NUT(10) Substituted by 7546703 (FLEXLOC)
7546707
Unavailable
21
NUT(10) Substituted by 7546703 (FLEXLOC)
7546707
Unavailable
24
SLIDE ASM,LOW
3233312
Unavailable
25
SLIDE ASM,HIGH/REV
3233311
Unavailable
26
BODY,GEAR SELECTOR
3233343
Unavailable
27
INTERLOCK,BUTTERFLY
3233084
Unavailable
28
PIN,INTERLOCK
3233070
Unavailable
29
SELECTOR ASM,GEAR,(500) (Incl. 1-25, 24-28)
1341176
Unavailable
