- Partiron
- OEM Parts
- Polaris
- ATV
- 1994
- SPORTSMAN 4X4 - W948039
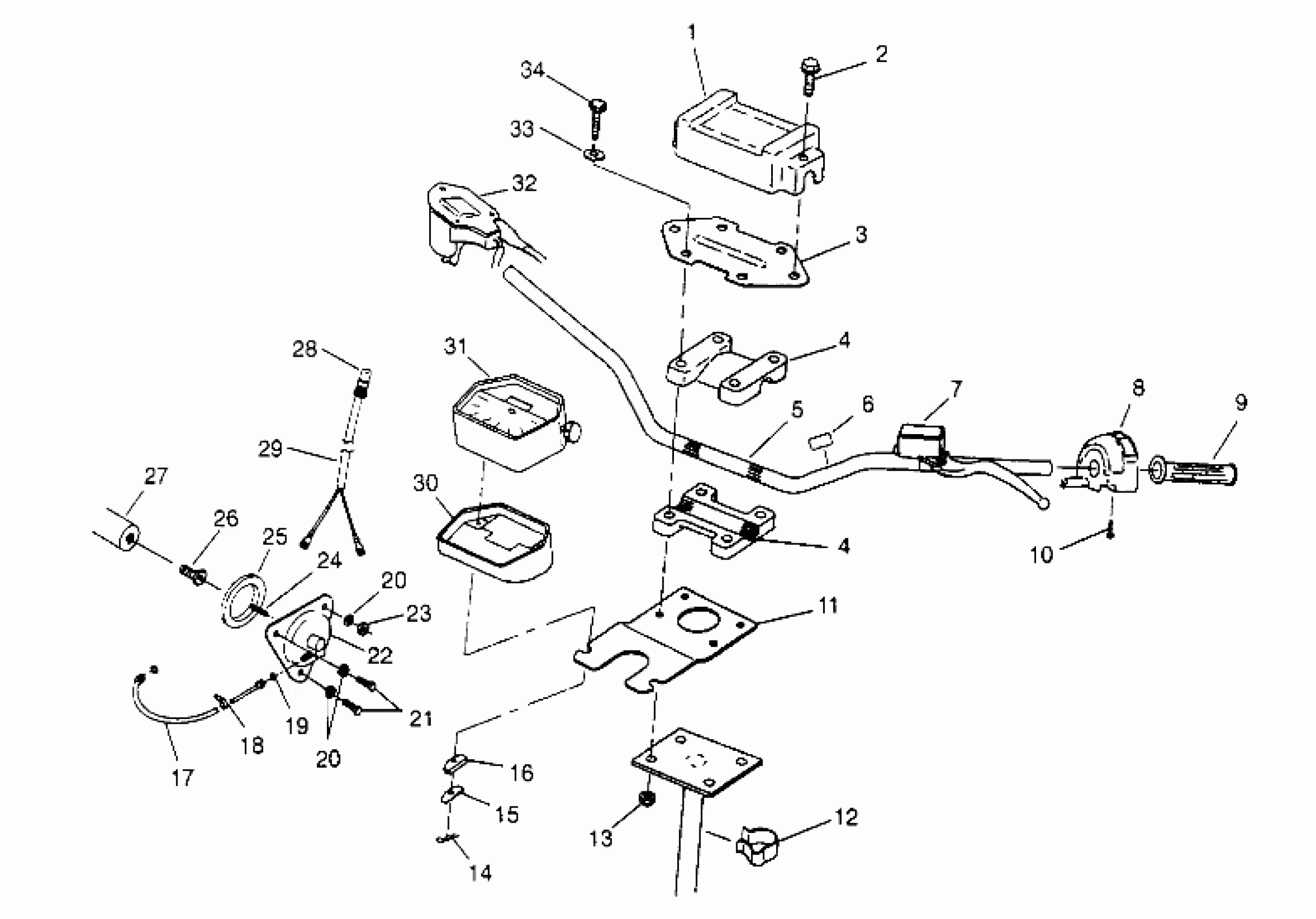
STEERING - HANDLEBAR Sportsman 4x4 W948040 (4926842684B007)
Polaris SPORTSMAN 4X4 - W948039 STEERING - HANDLEBAR Sportsman 4x4 W948040 (4926842684B007) Diagram
#
Description
Price
2
BOLT(10) Substituted by 7515197
7512286
Unavailable
5
TUBE,HDLBR,BLACK Substituted by 5242988-067
5224316-067
Unavailable
6
DECAL,O'RIDE SW.(4X4) Substituted by 7076273
7072827
Unavailable
8
SWITCH,LH,H'BAR(ATV)
4110157
Unavailable
10
SCREW
2010055
Unavailable
17
CABLE,SPEEDO,(ATV) Substituted by 3280216
3280184
Unavailable
19
SEAL, SPEEDO.CABLE
3280132
Unavailable
20
WASHER(10)
7555725
Unavailable
20
WASHER(10)
7555725
Unavailable
22
ADAPTER,DRIVE,(1:1.2),ATV Substituted by 3280219
3280128
Unavailable
25
SEAL,ANGLE DRIVE
3280164
Unavailable
27
Shaft, Output (See Pg. A35, Ref. 55)
-------
Unavailable
29
HARNESS, SPEEDO
2460387
Unavailable
30
MOUNT, SPEEDOMETER
5410546
Unavailable
31
SPEEDOMETER, ATV
3280129
Unavailable
31
SPEEDOMETER,(ATV)
3280181
Unavailable
32
THROTTLE CONTROL,AWD,PRD.EASY (See pg. A24)
2010149
Unavailable
