- Partiron
- OEM Parts
- Polaris
- ATV
- 1994
- SPORTSMAN 4X4 - W948039
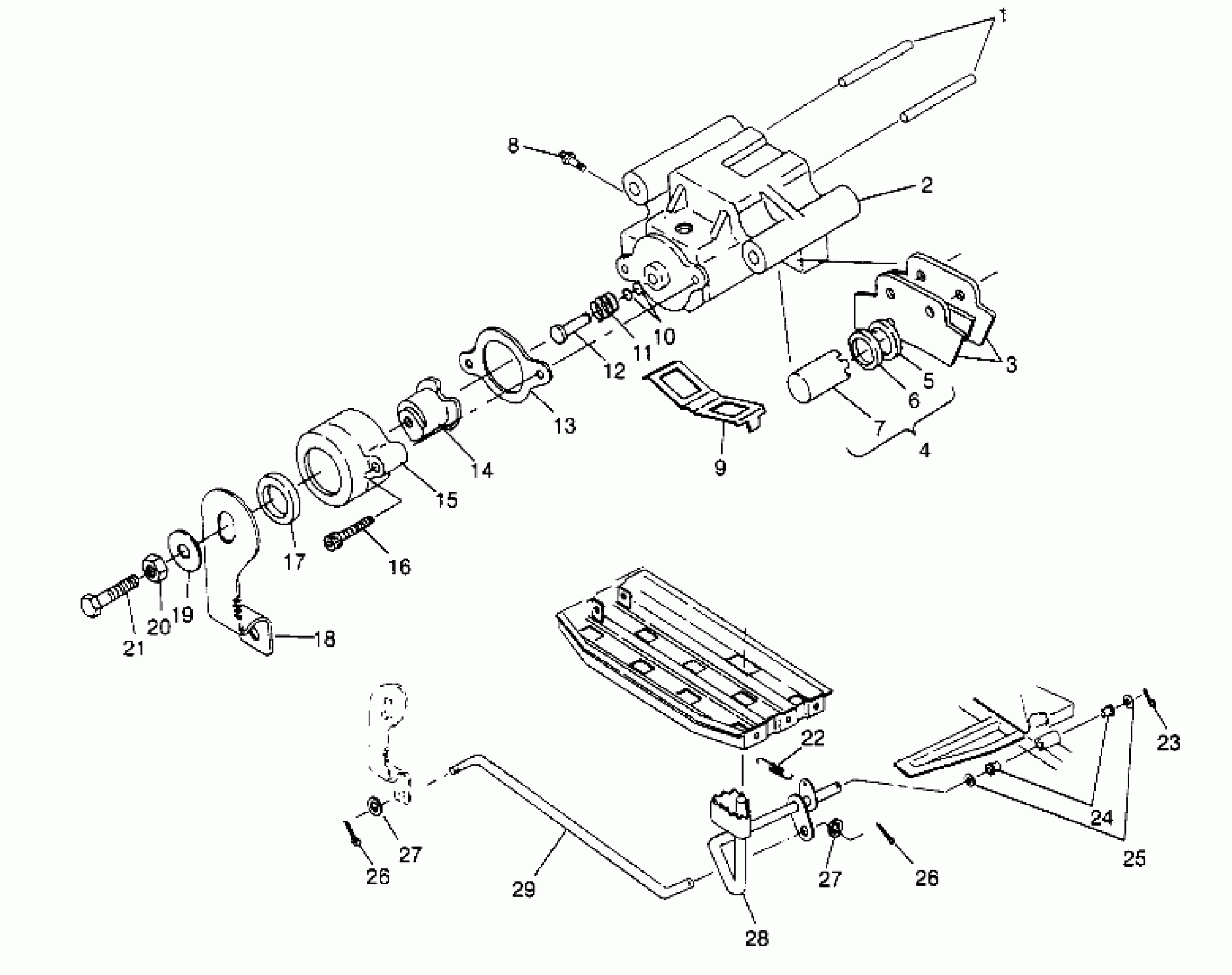
REAR BRAKE ASSEMBLY Sportsman 4x4 W948040 (4926842684C004)
Polaris SPORTSMAN 4X4 - W948039 REAR BRAKE ASSEMBLY Sportsman 4x4 W948040 (4926842684C004) Diagram
#
Description
Price
2
CALIPER,BRAKE,MACH. Substituted by 5131117
5130946
Unavailable
5
Square Ring (.134 Sq.)
-------
Unavailable
6
Square Ring (.099 Sq.)
-------
Unavailable
9
SPRING,ANTI-RATTLE
5222232
Unavailable
10
O RING-.364X.504X.07
5410542
Unavailable
12
PIN,BRAKE CALIPER
5020666
Unavailable
14
RAMP,MOVEABLE BRAKE Substituted by 2200905
5630458
Unavailable
15
RAMP, STAT.BRAKE Substituted by 2200905
5630457
Unavailable
16
SCREW(10)
7512173
Unavailable
18
ARM,BRAKE CALIPER
5240624
Unavailable
19
WASHER, SPRING(10)
7555828
Unavailable
21
BOLT
7515145
Unavailable
28
FOOTBRAKE,BLK.
1910144-067
Unavailable
