- Partiron
- OEM Parts
- Polaris
- ATV
- 1994
- SPORTSMAN 4X4 - W948039
COOLING SYSTEM Sportsman 4x4 W948040 (4926842684A009)
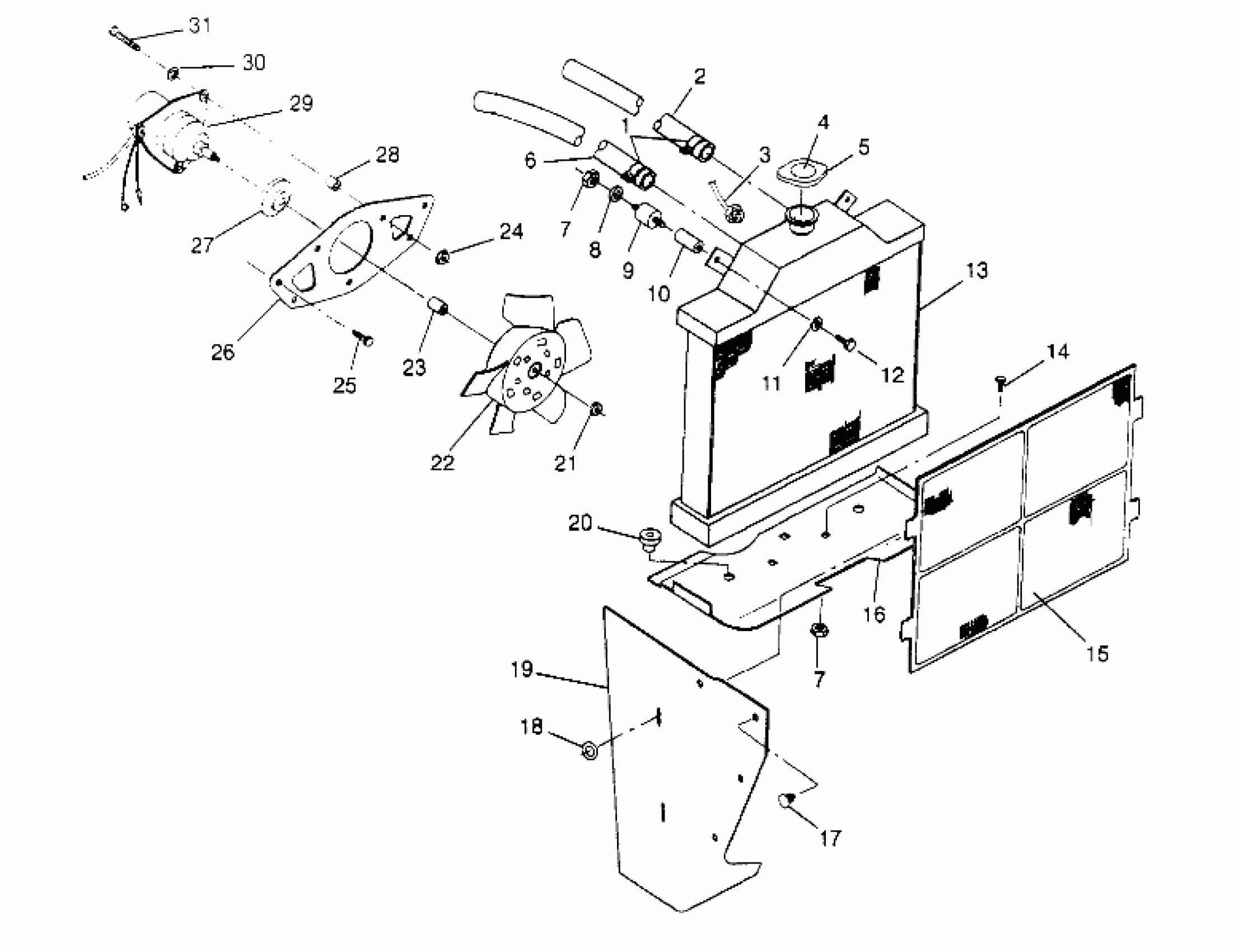
Polaris SPORTSMAN 4X4 - W948039 COOLING SYSTEM Sportsman 4x4 W948040 (4926842684A009) Diagram
#
Description
Price
1
CLAMP-HOSE Substituted by 7080547
7080225
Unavailable
3
SWITCH,RADIATOR THERMO.
4110099
Unavailable
4
DECAL(CPSC),RAD.CAP
7073068
Unavailable
5
CAP, RADIATOR Substituted by 2511270
2511189
Unavailable
13
RADIATOR
1240006
Unavailable
15
COVER,RADIATOR,W/MESH
5431610
Unavailable
16
GUARD,LOW.RADIATOR
5222547-067
Unavailable
19
SHIELD,LH RADIATOR
5431188
Unavailable
19
SHIELD,RH RADIATOR
5431189
Unavailable
21
NUT
3083952
Unavailable
23
BUSHING
3083950
Unavailable
24
NUT(10)
7541915
Unavailable
25
SCREW(10)
7512252
Unavailable
26
BRKT,COOLING FAN Substituted by 5224741-067
5222559-067
Unavailable
27
COVER
3083951
Unavailable
29
MOTOR, FAN Substituted by 4170009
3084266
Unavailable
31
SCREW(10)
7511874
Unavailable
