- Partiron
- OEM Parts
- Polaris
- ATV
- 1999
- SPORTSMAN 335 - A99CH33AB
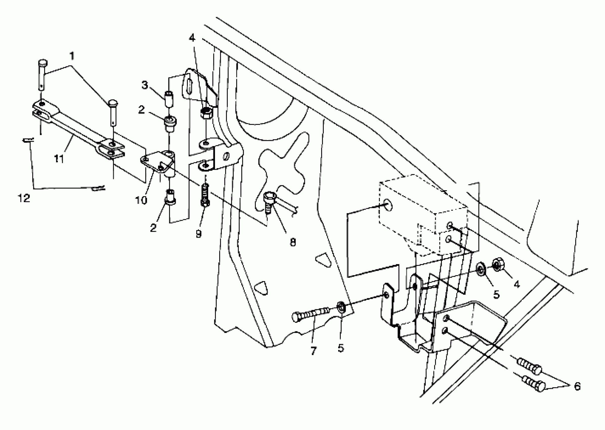
FRAME MOUNTING - A99CH33IA (4949884988c002)
Polaris SPORTSMAN 335 - A99CH33AB FRAME MOUNTING - A99CH33IA (4949884988c002) Diagram
#
Description
Price
7
BOLT(10)
7512249
Unavailable
8
Rod End, LH (See Footnote) (See Gear Selector Pg. D4, Ref. 20)
-------
Unavailable
9
SCREW(10)
7512144
Unavailable
10
PIVOT,SHIFT,BLK
1040494-067
Unavailable
11
ARM, SHIFT,(MACH)
5131277
Unavailable
