- Partiron
- OEM Parts
- Polaris
- ATV
- 1998
- SPORT 400L - W98BA38C
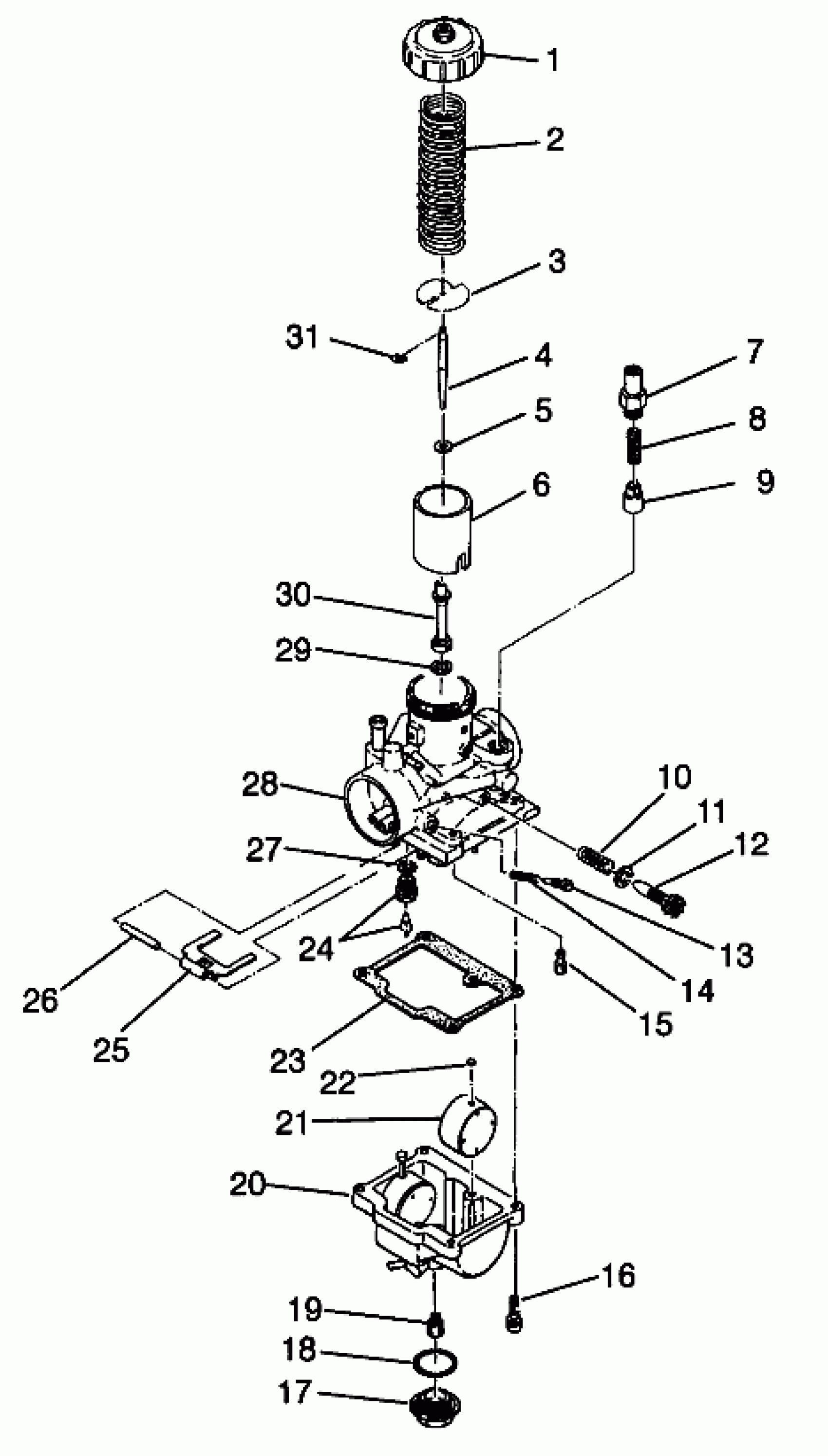
CARBURETOR Sport 400L W98BA38C (4947234723D001)
Polaris SPORT 400L - W98BA38C CARBURETOR Sport 400L W98BA38C (4947234723D001) Diagram
#
Description
Price
6
VALVE,THROTTLE,(1.5) Substituted by 3130494 (1.5)
3130751
Unavailable
10
SPRING,THROT.ADJ.
3130436
Unavailable
11
Washer
3130447
Unavailable
18
O RING
3130239
Unavailable
20
BOWL, FLOAT (350)
3130443
Unavailable
28
CARBURETOR (Incl. 1-31)
3130709
Unavailable
29
RING,MAIN JET
3130596
Unavailable
30
NEEDLE JET ASM. (0-6) (480)
3130429
Unavailable
31
E RING(10) Substituted by 3130508
3130003
Unavailable
