- Partiron
- OEM Parts
- Polaris
- ATV
- 1997
- SPORT 400L - W97BA38C
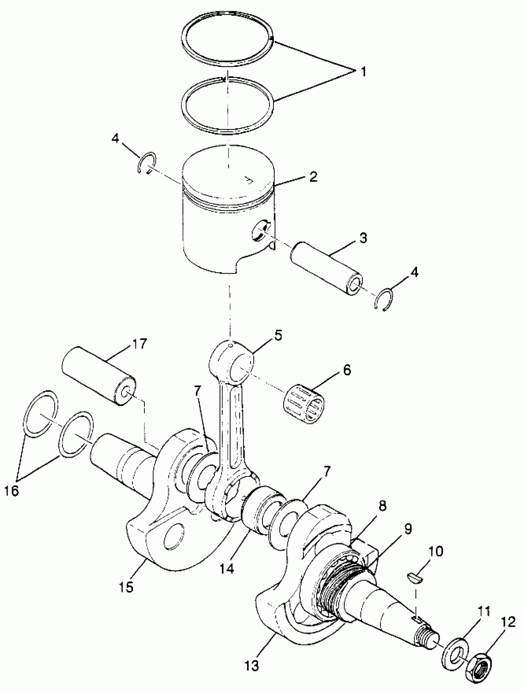
PISTON and CRANKSHAFT (BLAZER) Trail Blazer W97BA25C (4940124012D001)
Polaris SPORT 400L - W97BA38C PISTON and CRANKSHAFT (BLAZER) Trail Blazer W97BA25C (4940124012D001) Diagram
#
Description
Price
1
RING, PISTON
3083546
Unavailable
1
RING,.010 O/S
3083678
Unavailable
2
SET,PISTON,.040"/1.00MM O/S* (1.00mm/.040" O/S)
3083972
Unavailable
2
PISTON *
3083942
Unavailable
2
PISTON,.020 O/S
3083944
Unavailable
2
PISTON,.010 O/S
3083943
Unavailable
5
ROD CONNECTING
3082790
Unavailable
6
BEARING, SMALL END
3083626
Unavailable
9
GEAR,CRANKSHAFT (O/I)
3083745
Unavailable
10
KEY Substituted by 3081543
3080130
Unavailable
11
WASHER Substituted by 3086767
3083904
Unavailable
12
LOCKNUT
3083905
Unavailable
13
CRANKSHAFT ASM. (Incl. 5-9, 13-15, 17)
3084582
Unavailable
14
BEARING,LGE.END
3083803
Unavailable
15
CRANKSHAFT,#2
3083802
Unavailable
16
SPACER #1 (0.2mm)
3083629
Unavailable
16
SPACER #3 (0.1mm)
3083630
Unavailable
