- Partiron
- OEM Parts
- Polaris
- ATV
- 1995
- SPORT 400L - W958540
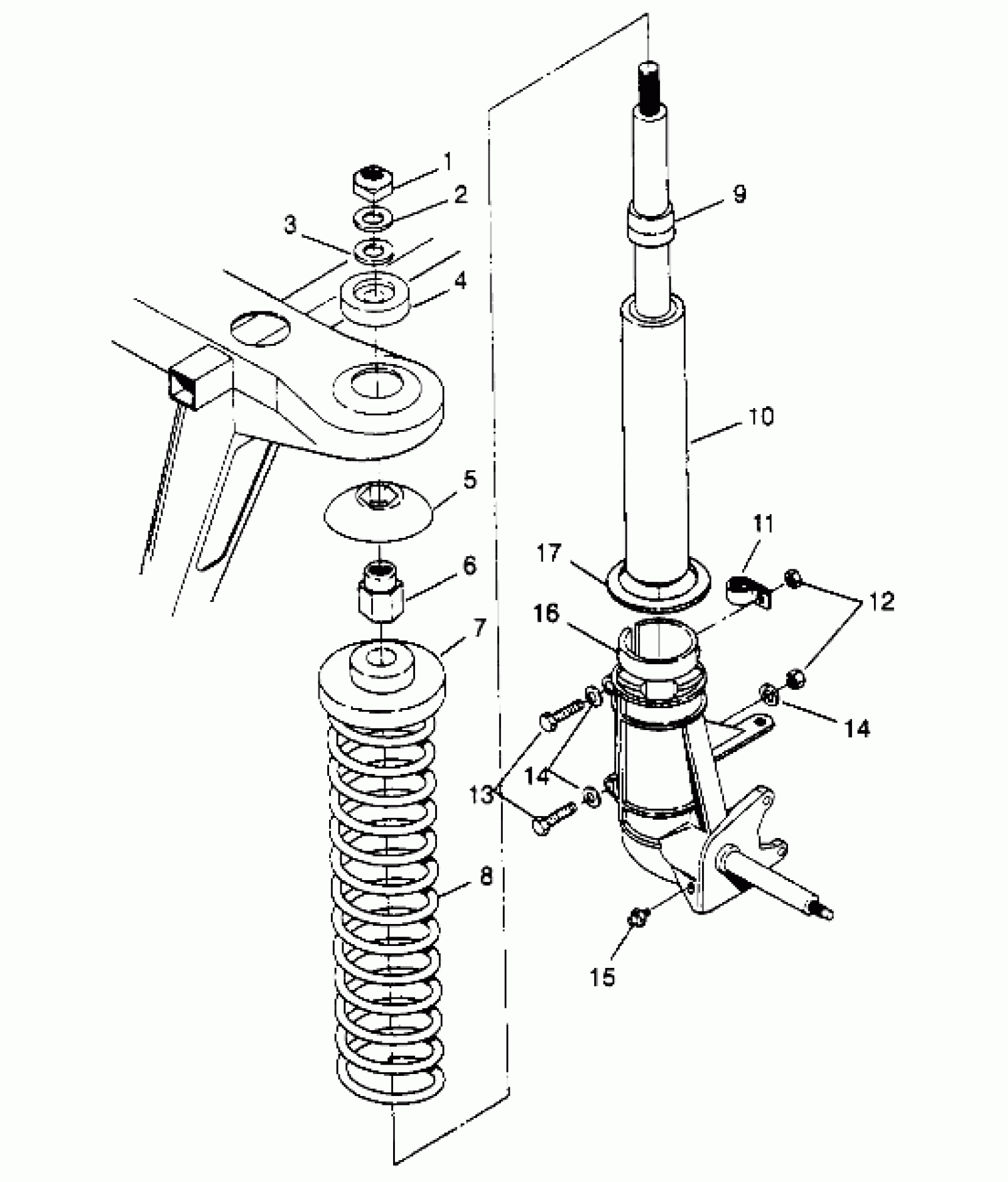
STRUT ASSEMBLY Sport 400L W958540 (4930133013B002)
Polaris SPORT 400L - W958540 STRUT ASSEMBLY Sport 400L W958540 (4930133013B002) Diagram
#
Description
Price
4
PIVOT BALL, TOP Substituted by 5432872
5430806
Unavailable
5
PIVOT BALL,BOTTOM Substituted by 5432871
5430807
Unavailable
7
RETAINER,SPRING,TOP (Top)
5220602
Unavailable
8
SPRING, STRUT
7041161-067
Unavailable
9
BUMPER, RUBBER
5410429
Unavailable
10
STRUT ASM,FRONT,25MM. Substituted by 7041451
7041449
Unavailable
11
CLAMP(10) Substituted by 7080573
7080347
Unavailable
16
SUPPORT,LH STRUT
5130803
Unavailable
16
SUPPORT,RH STRUT
5130804
Unavailable
