- Partiron
- OEM Parts
- Polaris
- ATV
- 1995
- SPORT 400L - W958540
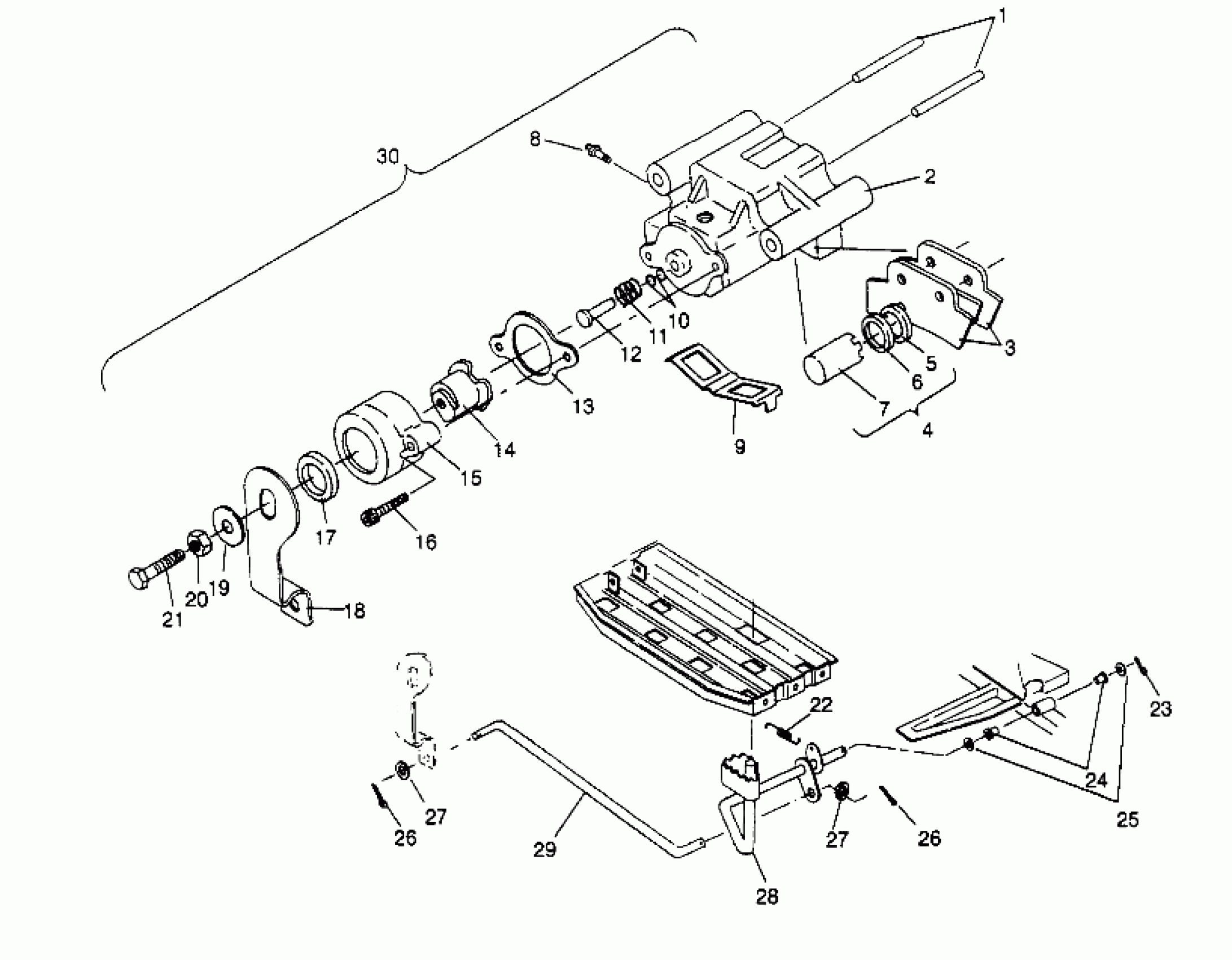
REAR BRAKE ASSEMBLY Sport 400L W958540 (4930133013C001)
Polaris SPORT 400L - W958540 REAR BRAKE ASSEMBLY Sport 400L W958540 (4930133013C001) Diagram
#
Description
Price
2
CALIPER,R.BRAKE,MACH (Extruded)
5131272
Unavailable
2
CALIPER,BRAKE,MACH. Substituted by 5131117 (Cast)
5130946
Unavailable
5
Square Ring (.134 Sq.)
-------
Unavailable
6
Square Ring (.099 Sq.)
-------
Unavailable
7
Piston, Caliper
-------
Unavailable
9
SPRING,ANTI-RATTLE (Extruded)
5240993
Unavailable
9
SPRING,ANTI-RATTLE (Cast)
5222232
Unavailable
10
O RING-.364X.504X.07
5410542
Unavailable
12
PIN,BRAKE CALIPER
5020666
Unavailable
14
RAMP,MOVEABLE BRAKE Substituted by 2200905
5630458
Unavailable
15
RAMP, STAT.BRAKE Substituted by 2200905
5630457
Unavailable
16
SCREW(10)
7512173
Unavailable
18
ARM,BRAKE CALIPER
5240901
Unavailable
19
WASHER, SPRING(10)
7555828
Unavailable
21
BOLT
7515145
Unavailable
28
FOOTBRAKE,BLK.
1910144-067
Unavailable
30
CALIPER ASM,R.BRAKE Substituted by 1910224 (Extruded) (Incl. 1-21)
1910180
Unavailable
30
CAL.ASM,REAR BRAKE Substituted by 1910180 (Cast) (Incl. 1-21)
1910156
Unavailable
