- Partiron
- OEM Parts
- Polaris
- ATV
- 1995
- SPORT 400L - W958540
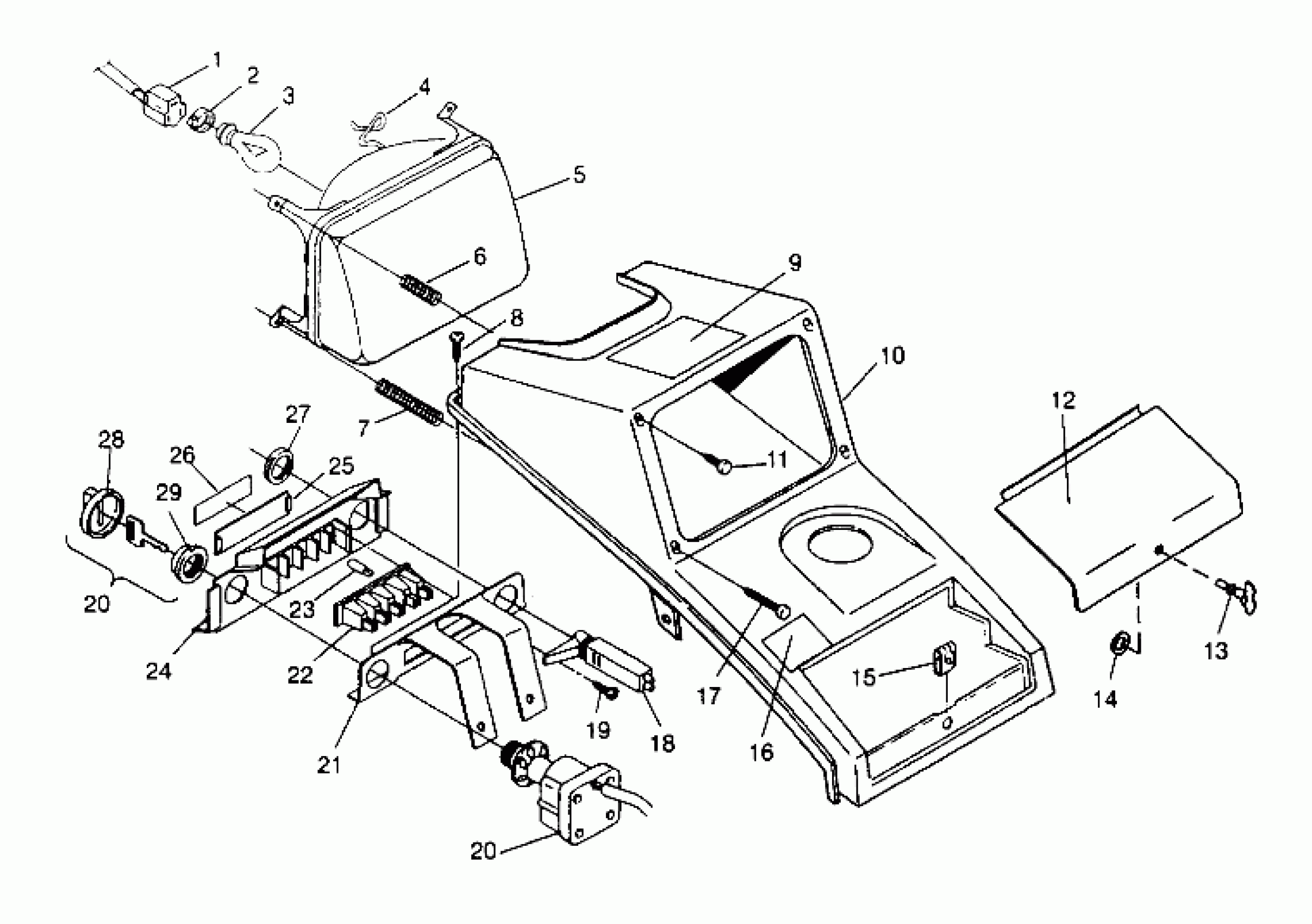
HEADLIGHT ASSEMBLY Sport 400L W958540 (4930133013A014)
Polaris SPORT 400L - W958540 HEADLIGHT ASSEMBLY Sport 400L W958540 (4930133013A014) Diagram
#
Description
Price
1
HARNESS,HEADLIGHT
2460428
Unavailable
2
COVER,SOCKET,H/L.
4032066
Unavailable
4
RETAINER,H/L BULB
4032063
Unavailable
5
HEADLIGHT ASM.
4032038
Unavailable
6
SPRING-ADJ
4032002
Unavailable
7
SPRING,ADJ.
4032041
Unavailable
9
DECAL,CERTIF.,ATV Substituted by 7075909
7073464
Unavailable
10
COVER,(P.RED),H/L.
5431202-136
Unavailable
11
SCREW, ADJ.(10)
4032003
Unavailable
12
DOOR,ACCESS(P.RED)
5431201-136
Unavailable
16
LABEL, 'U.S.A.'
7073024
Unavailable
17
SCREW,ADJUST,(ATV)(10)
4032042
Unavailable
21
BRKT, IGN. PANEL
5220965-067
Unavailable
23
BULB
4030042
Unavailable
24
PANEL, IGNITION
5430995
Unavailable
25
LENS ASM,PILOT LIGHT (Incl. 26)
2652049
Unavailable
26
DECAL, PANEL [No Longer Available]
7072528
Unavailable
28
COVER, KEY Substituted by 5433534
5431964
Unavailable
29
NUT,IGN.SWITCH NOTE: Ignition Key may be ordered by using the 4 digit number on the key.
5432090
Unavailable
