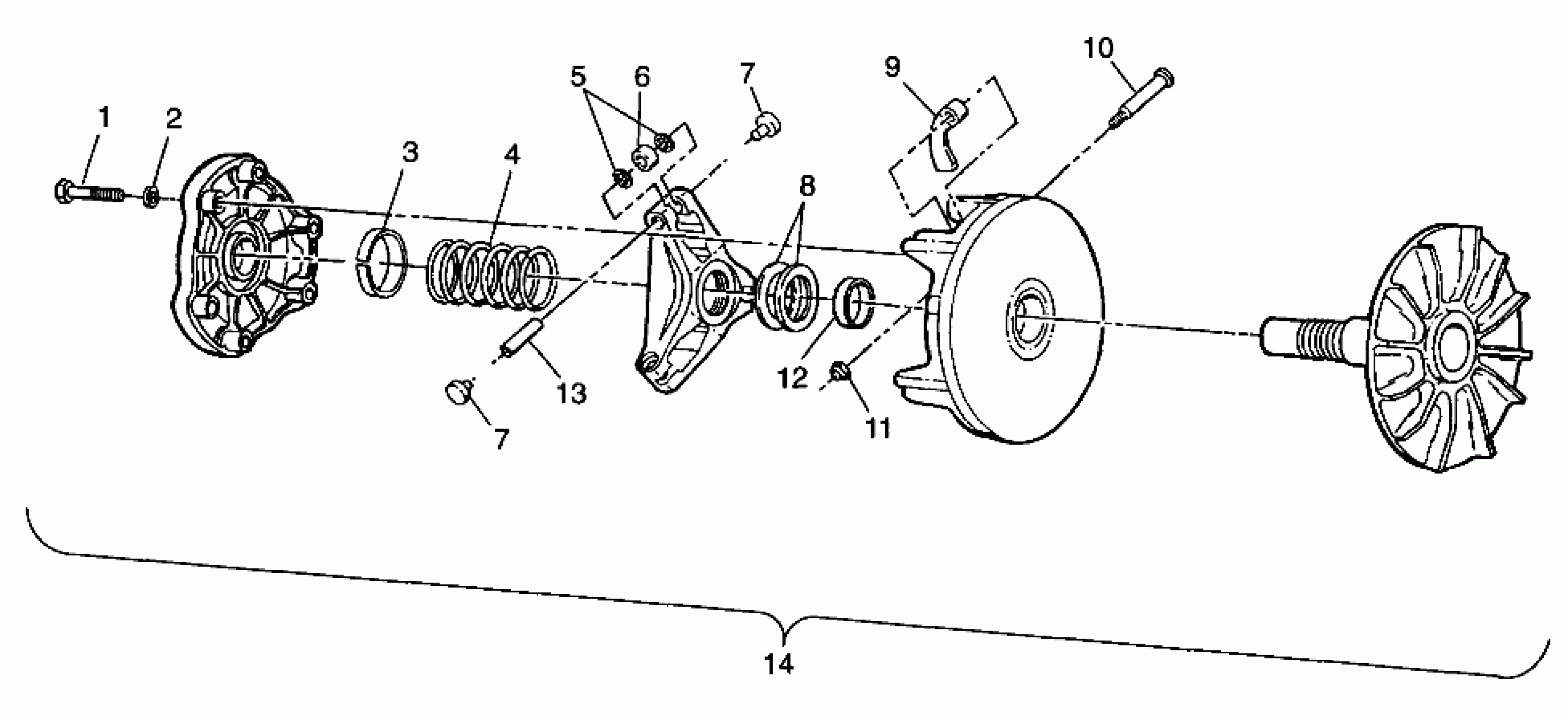
Polaris SPORT 400 - A99BA38CA DRIVE CLUTCH - A99BA38CA (4949534953b011) Diagram
#
Description
Price
1
BOLT(10) Substituted by 7512163
7512176
Unavailable
7
BUTTON,CLUTCH
5431936
Unavailable
7
BUTTON,CLUTCH
5431936
Unavailable
8
SPACER(10) (.050)
5210754
Unavailable
8
SPACER(10) (.025)
5242981
Unavailable
8
SPACER(10) (.020)
5210752
Unavailable
8
SPACER(10) (.032)
5210753
Unavailable
