- Partiron
- OEM Parts
- Suzuki
- Motorcycle
- 1979
- SP370 (1979)
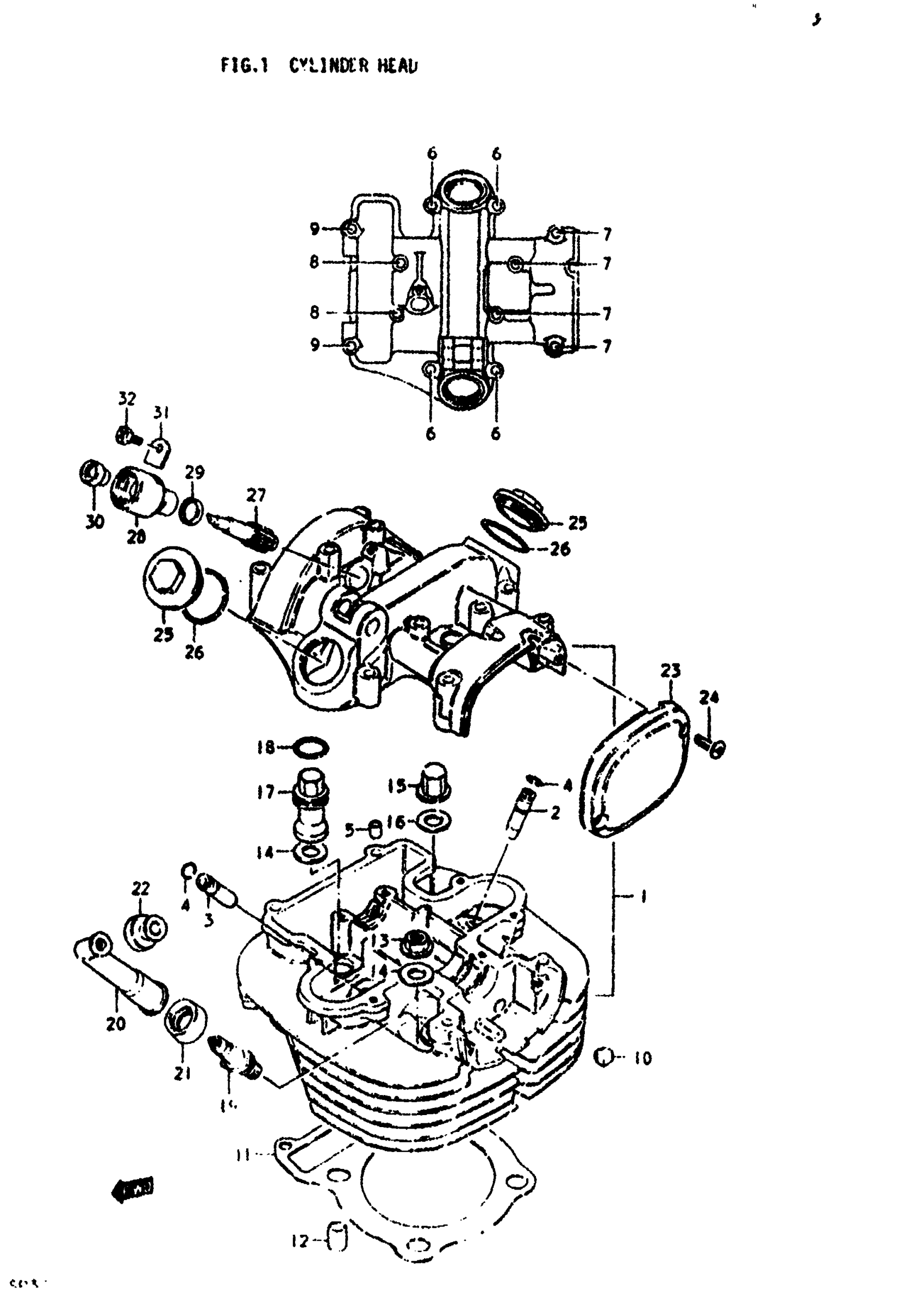
CYLINDER HEAD
Suzuki SP370 (1979) CYLINDER HEAD Diagram
#
Description
Price
1
NO DESCRIPTION AVAILABLE | Includes Item(s) 2 - 10 This part replaces 11100-32810.
11100-32811
Unavailable
3
GUIDE, EXHAUST VALVE This part replaces 11116-45722.
11116-45740
Unavailable
9
BOLT
09103-06028
Unavailable
11
GASKET This part replaces 11141-32990.
11141-37101
Unavailable
17
NUT
11145-32400
Unavailable
19
SPARK PLUG (X24ESR-U) | X24EX-U, ND; Includes Item(s) 20 This part replaces 09482-00145.
09482-00223
$5.18
23
COVER, CONTACT BRAKER
11174-32400
Unavailable
27
GEAR TACHO DRVN | NT:10 This part replaces 26431-47002.
26431-47003
Unavailable
