- Partiron
- OEM Parts
- Yamaha
- snowmobile
- 1973
- SM292 1973
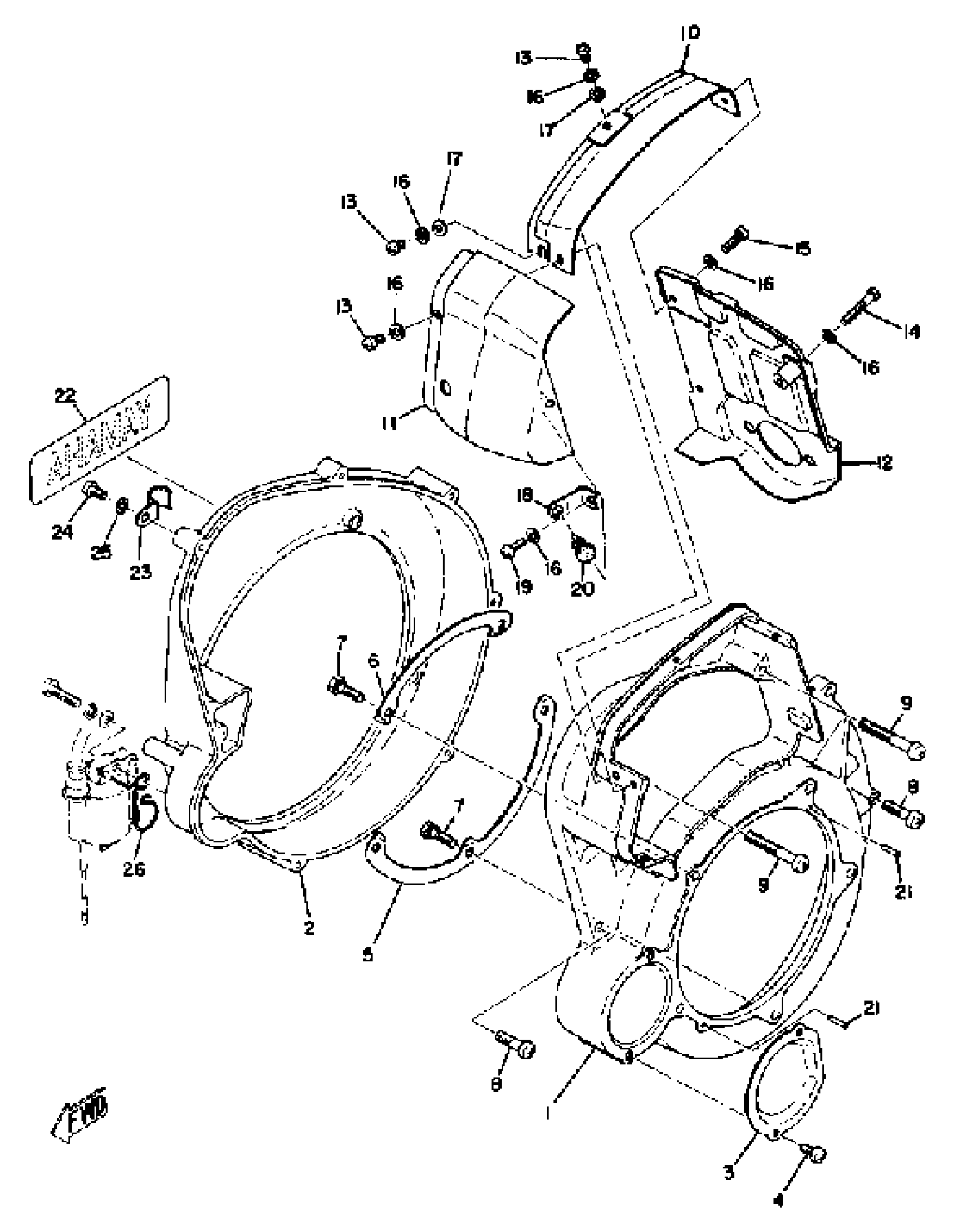
FAN CASE - AIR SHROUD
Yamaha SM292 1973 FAN CASE - AIR SHROUD Diagram
#
Description
Price
1
CASE, FAN
839-12621-00-00
Unavailable
2
CASE, FAN 2
867-12622-00-00
Unavailable
3
PLATE
(812-12633-00-00)
Unavailable
4
SCREW, PAN HEAD(62X)
97885-05010-00
Unavailable
5
WASHER, LOCK 1
(812-12624-00-00)
Unavailable
6
WASHER, LOCK 2
(812-12625-00-00)
Unavailable
7
BOLT, WASHER BASED
(90105-06001-00)
Unavailable
10
AIR SHROUD, CYLINDER 1
(839-12651-00-00)
Unavailable
12
AIR SHROUD, CYLINDER 3
(839-12653-00-00)
Unavailable
14
SCREW, BIND
(98906-05030-00)
Unavailable
17
WASHER, PLAIN LARGE
92907-05200-00
Unavailable
18
STAY, CLAMP 1
(822-12655-00-00)
Unavailable
20
DAMPER, AIR SHRD 1
(812-12658-00-00)
Unavailable
21
PIN,DOWEL (137)
93604-14012-00
Unavailable
22
EMBLEM
(838-12629-00-00)
Unavailable
23
CLAMP, CORD
(822-82361-00-00)
Unavailable
24
SCREW, PAN
98507-06010-00
Unavailable
25
WASHER, SPRING
92907-06100-00
Unavailable
26
CLAMP, OIL PIPE
(822-24369-01-00)
Unavailable
