- Partiron
- OEM Parts
- Polaris
- Watercraft
- PWC
- 1998
- SLXH - B984690
TRIM PACKAGE - B984690 (4945114511b005)
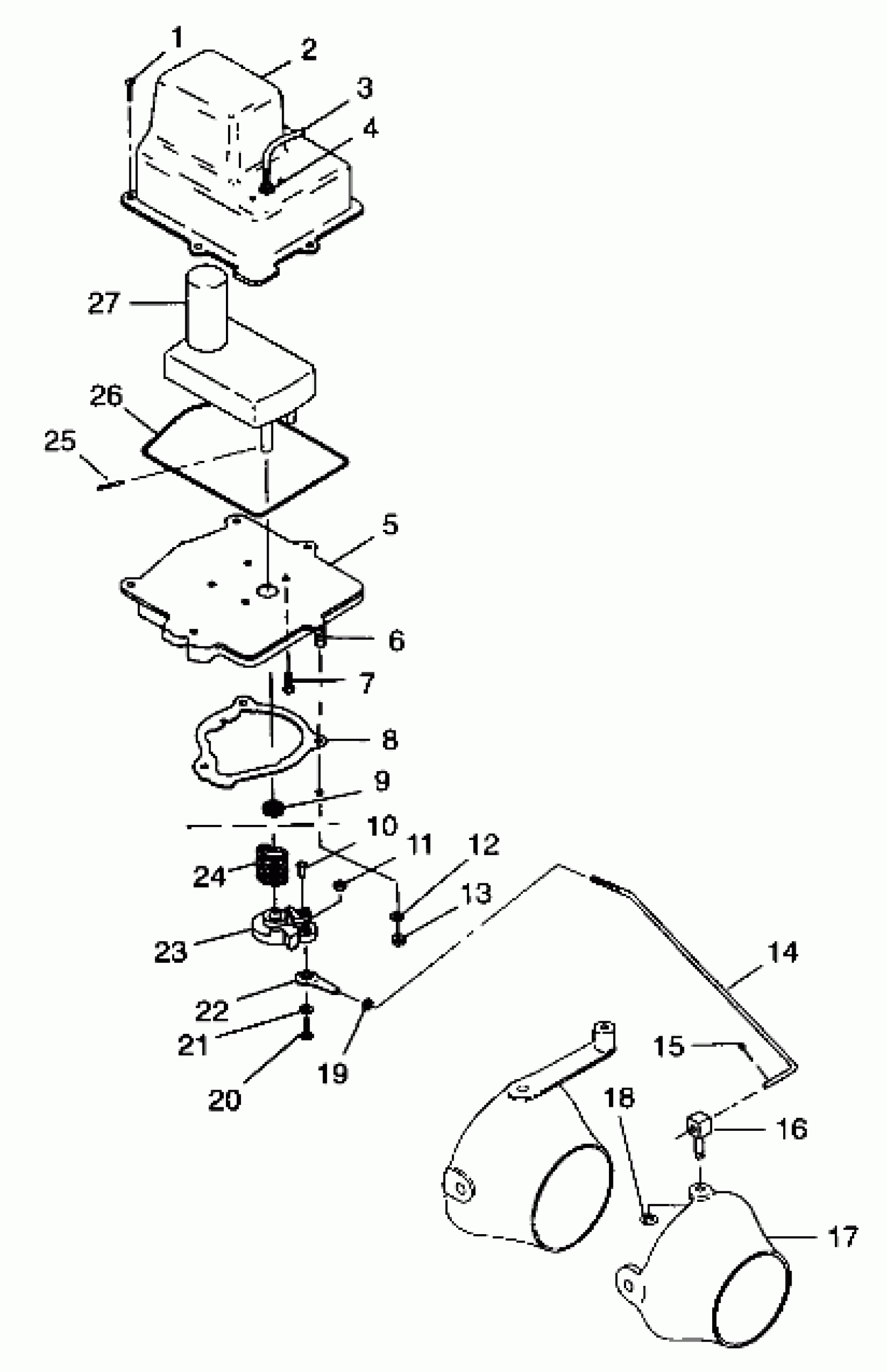
Polaris SLXH - B984690 TRIM PACKAGE - B984690 (4945114511b005) Diagram
#
Description
Price
1
SCREW(10)
7512052
Unavailable
2
COVER,TRIM MTR.
5431551
Unavailable
3
HARNESS,TRIM,2HOLE GROMMET
2460635
Unavailable
4
GROMMET,TRIM INDIC.
5410778
Unavailable
5
BASE,MOTOR
5630798
Unavailable
6
STUD,S.S.(10)
5131050
Unavailable
7
SCREW(10)
7511872
Unavailable
8
GASKET, MOTOR BASE
5810818
Unavailable
9
SEAL, OIL
3610042
Unavailable
10
SCREW(10)
7511873
Unavailable
12
WASHER, FLAT, S.S.(10)
7555839
Unavailable
13
NUT,NYLOK,S.S.(10)
7542133
Unavailable
14
LINKAGE,THREADED
5224670
Unavailable
16
SWIVEL,ROD END
5131463
Unavailable
17
Nozzle, Trim (See Footnote) (See Propulsion Pg. B4, Ref. 12)
-------
Unavailable
18
WASHER(10)
7555866
Unavailable
19
NUT (10)
1860102
Unavailable
20
BOLT, S.S.(10)
7512041
Unavailable
21
WASHER, FLAT, S.S.(10)
7555837
Unavailable
22
ROD END, S.S.
7060154
Unavailable
23
LEVER,TRIM,HD
5432551
Unavailable
24
SPRING,TRIM,HVY.
7041469
Unavailable
25
PIN,DRIVE
7661646
Unavailable
26
O RING,MTR.COVER
5410756
Unavailable
27
GEAR ASM,MOTOR,3 RPM,HD
4170021
Unavailable
