- Partiron
- OEM Parts
- Polaris
- Watercraft
- PWC
- 1998
- SLXH - B984690
STEERING - B984690 (4945114511b001)
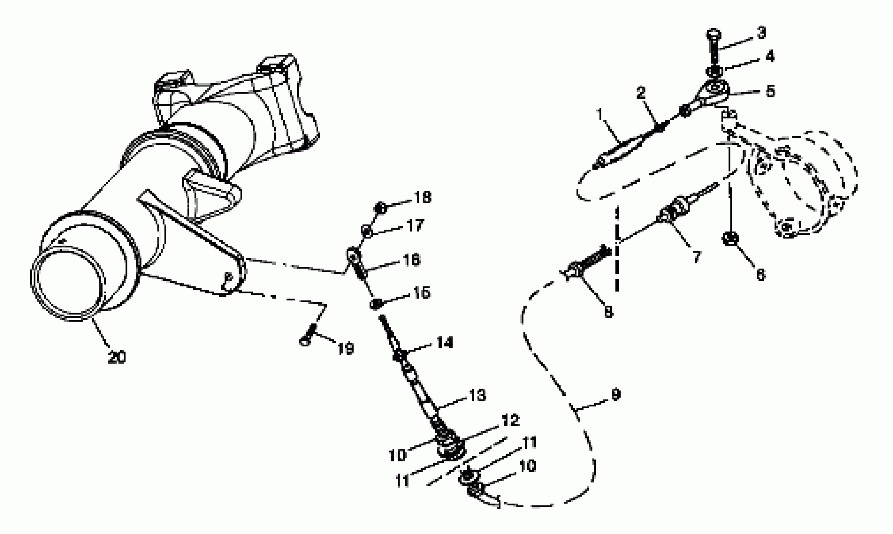
Polaris SLXH - B984690 STEERING - B984690 (4945114511b001) Diagram
#
Description
Price
1
BOOT,(STRG.)
1860116
Unavailable
2
NUT, S.S.(10)
7542150
Unavailable
3
BOLT,(10)
7515120
Unavailable
4
WASHER, FLAT, S.S.(10)
7555839
Unavailable
6
NUT,NYLOK,S.S.(10)
7542133
Unavailable
7
SEAL,WASHER,STRG.
1860115
Unavailable
8
NUT,(STRG.CABLE) (Special)
1860114
Unavailable
9
CABLE,STEERING
7080752
Unavailable
10
NUT (10)
7542528
Unavailable
10
NUT (10)
7542528
Unavailable
11
Washer
1860103
Unavailable
11
Washer
1860103
Unavailable
12
WASHER, LOCK,S.S.(10)
7571625
Unavailable
13
SEAL, ROD
1860101
Unavailable
14
Cover
1860105
Unavailable
15
NUT (10)
1860102
Unavailable
16
ROD END, S.S.
7060154
Unavailable
17
WASHER, FLAT, S.S.(10)
7555837
Unavailable
19
BOLT, S.S.(10)
7512041
Unavailable
20
Column, Steering (See Footnote) (See Steering Pg. A14, Ref. 23)
-------
Unavailable
