- Partiron
- OEM Parts
- Polaris
- Watercraft
- PWC
- 1997
- SLTX - B974590
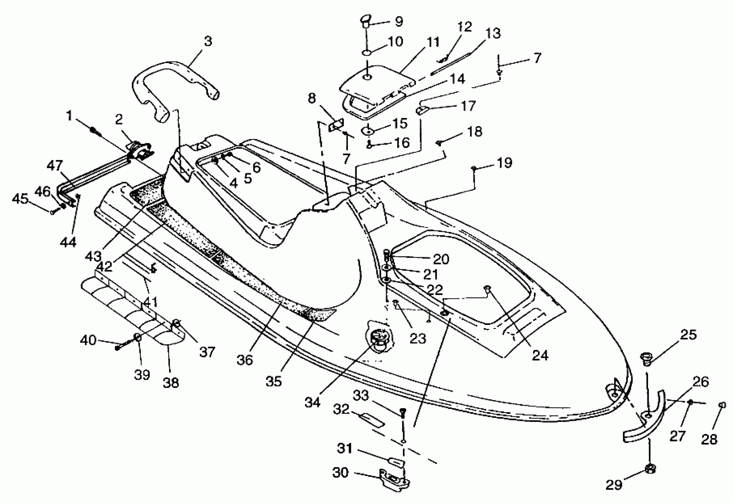
HULL and BODY SLTX B974590 and INTL. SLTX I974590 (4941214121A005)
Polaris SLTX - B974590 HULL and BODY SLTX B974590 and INTL. SLTX I974590 (4941214121A005) Diagram
#
1
SCREW, S.S.(10)
7511882
Unavailable
2
PLUG ASM,BILGE
1060125
Unavailable
3
HANDLE,GRAB,WD.GRP.
5431392-237
Unavailable
5
WASHER, LOCK, S.S.(10)
7552610
Unavailable
6
BOLT, S.S.(10)
7515361
Unavailable
8
PLATE,CONSOLE
5240138
Unavailable
9
KNOB,CONSOLE LID,VLT.MET.
5431514-242
Unavailable
11
LID,CONSOLE,VLT.MET.
5431602-242
Unavailable
12
SPRING,CONSOLE LID
7041333
Unavailable
13
PIN,HINGE
5333185
Unavailable
14
SEAL,CONSOLE
5521284
Unavailable
15
LATCH,CONSOLE
5240137
Unavailable
16
SCREW, S.S.(10)
7515143
Unavailable
17
HINGE,CONSOLE LID,VLT.MET.
5431515-242
Unavailable
20
SCREW, S.S.(10)
7516805
Unavailable
21
WASHER, LOCK(10)
7552613
Unavailable
22
WASHER,RUBBER(10)
7555870
Unavailable
23
BUMPER,DECK
5431741
Unavailable
25
GROMMET,BOW EYE,WD.GRP.
5431950-237
Unavailable
26
BUMPER,FR.TALL,WLD.GRP.
5411063-237
Unavailable
27
RIVET(50)
7621511
Unavailable
28
PLUG,R.BUMP,WD.GRP.
5431994-237
Unavailable
29
NUT,BOW EYE,WD.GRP.
5431951-237
Unavailable
30
STOP,DOOR SUPPORT
5431960
Unavailable
31
SEAL,DOOR SUPPORT
5810571
Unavailable
32
DECAL,DOOR,COMPARTMENT
7073717
Unavailable
33
SCREW(10)
7512049
Unavailable
34
Separator, Fuel Water (See Pg. NO TAG, Ref. NO TAG)
-------
Unavailable
35
PAD,RH,F.F'WELL,GRV,W.G.
5811476-237
Unavailable
35
PAD,LH,F.F'WELL,GRV,WG.
5811475-237
Unavailable
36
PAD,CTR.F'WELL,GRV,WLDGR.
5811474-237
Unavailable
38
SPONSON,LH,VLT.MT.
5432274-242
Unavailable
38
SPONSON,RH,VLT.MT.
5432275-242
Unavailable
39
WASHER, FLAT, S.S.(10)
7555839
Unavailable
40
SCREW,(10)
7515198
Unavailable
41
RAIL,RUB,LH,WLD.GRP.
5521417-237
Unavailable
41
RUBRAIL,RH,SIDE,WLD.GRP.
5521418-237
Unavailable
42
PAD,LH,F'WELL,GRV,WLD.GRP.
5811470-237
Unavailable
42
PAD,RH,F'WELL,GRV,WLDGR.
5811471-237
Unavailable
43
PAD,R.F'WELL,GRV,WDGR.
5811472-237
Unavailable
44
NUT,NYLOK,S.S.(10)
7542133
Unavailable
45
BOLT,CARR,WLD.GRP.
7517320-237
Unavailable
47
BUMPER,REAR,WLD.GRP. Substituted by 5433531-237
5432621-237
Unavailable
