- Partiron
- OEM Parts
- Polaris
- Watercraft
- PWC
- 1998
- SLTH - B984573
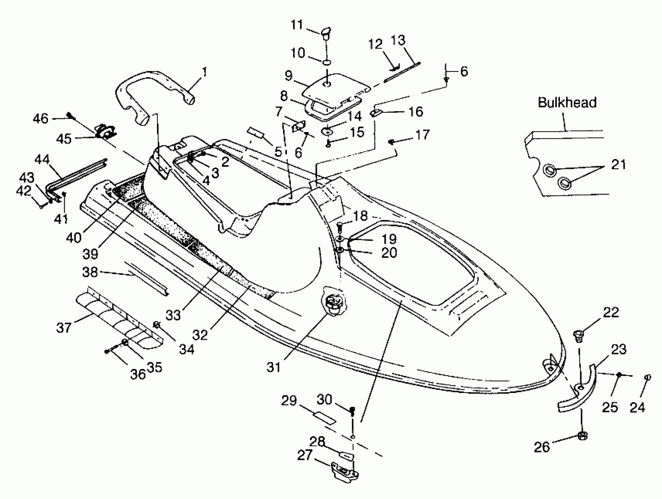
HULL and BODY - I984573 (4946554655a005)
Polaris SLTH - B984573 HULL and BODY - I984573 (4946554655a005) Diagram
#
1
HANDLE,GRAB,DK.CLOIS.
5431392-204
Unavailable
2
BOLT, S.S.(10)
7515361
Unavailable
3
WASHER, LOCK, S.S.(10)
7552610
Unavailable
5
DECAL,WARN.SEAT/ENG. Substituted by 7078311
7077196
Unavailable
7
PLATE,CONSOLE
5240138
Unavailable
8
SEAL,CONSOLE
5521284
Unavailable
9
LID,CONSOLE,DK.CL.
5431602-204
Unavailable
11
KNOB,CONSOLE LID,DK.CL.
5431514-204
Unavailable
12
SPRING,CONSOLE LID
7041333
Unavailable
13
PIN,HINGE
5333185
Unavailable
14
LATCH,CONSOLE
5240137
Unavailable
15
SCREW, S.S.(10)
7515143
Unavailable
16
HINGE,CONSOLE LID,DK.CL.
5431515-204
Unavailable
18
SCREW, S.S.(10)
7516805
Unavailable
19
WASHER, LOCK(10)
7552613
Unavailable
20
WASHER,RUBBER(10)
7555870
Unavailable
21
Grommet
5411158
Unavailable
22
INSERT,FR.BUMPER,VIOL.C.
5431950-198
Unavailable
23
BUMPER,FR,TALL,VIOL.C
5411063-198
Unavailable
24
PLUG,R.BUMPER,VIO.C.
5431994-198
Unavailable
25
RIVET(50)
7621511
Unavailable
26
NUT,FR.BUMPER,VIOL.C.
5431951-198
Unavailable
27
STOP,DOOR SUPPORT
5431960
Unavailable
28
SEAL,DOOR SUPPORT
5810571
Unavailable
29
DECAL,DOOR,COMPARTMENT
7073717
Unavailable
30
SCREW(10)
7512049
Unavailable
31
Separator, Fuel/Water (See Drain Pg. C7, Ref. 1)
-------
Unavailable
32
PAD,LH,F,F'WELL,GRV,VT
5811475-198
Unavailable
32
PAD,RH,F,F'WELL,GRV,VT
5811476-198
Unavailable
33
PAD,CTR.F'WELL,GRV,VLT.C.
5811474-198
Unavailable
35
WASHER, FLAT, S.S.(10)
7555839
Unavailable
36
SCREW,(10)
7515198
Unavailable
37
SPONSON,LH,23",DK.CL.
5432272-204
Unavailable
37
SPONSON,RH,23",DK.CL.
5432273-204
Unavailable
38
RAIL,RUB,RH,SIDE,3HOLE,VC
5521418-198
Unavailable
38
RAIL,RUB,LH,SIDE,3HOLE,VC
5521417-198
Unavailable
39
PAD,LH,F'WELL,GRV,VLT.C.
5811470-198
Unavailable
39
PAD,RH,F'WELL,GRV,VLT.C.
5811471-198
Unavailable
40
PAD,R.F'WELL,GRV,VLT.C.
5811472-198
Unavailable
41
NUT,NYLOK,S.S.(10)
7542133
Unavailable
42
BOLT,CARR,VIOLET C. Substituted by 7517320-214
7517320-198
Unavailable
44
BUMPER,REAR,11 HOLE,VIOL.C. Substituted by 5433531-198
5432621-198
Unavailable
45
PLUG ASM,BILGE
1060125
Unavailable
46
SCREW, S.S.(10)
7511882
Unavailable
