- Partiron
- OEM Parts
- Polaris
- Watercraft
- PWC
- 1994
- SLT - B944170
HULL and BODY SLT 750 B944170 (4925942594001A)
Polaris SLT - B944170 HULL and BODY SLT 750 B944170 (4925942594001A) Diagram
#
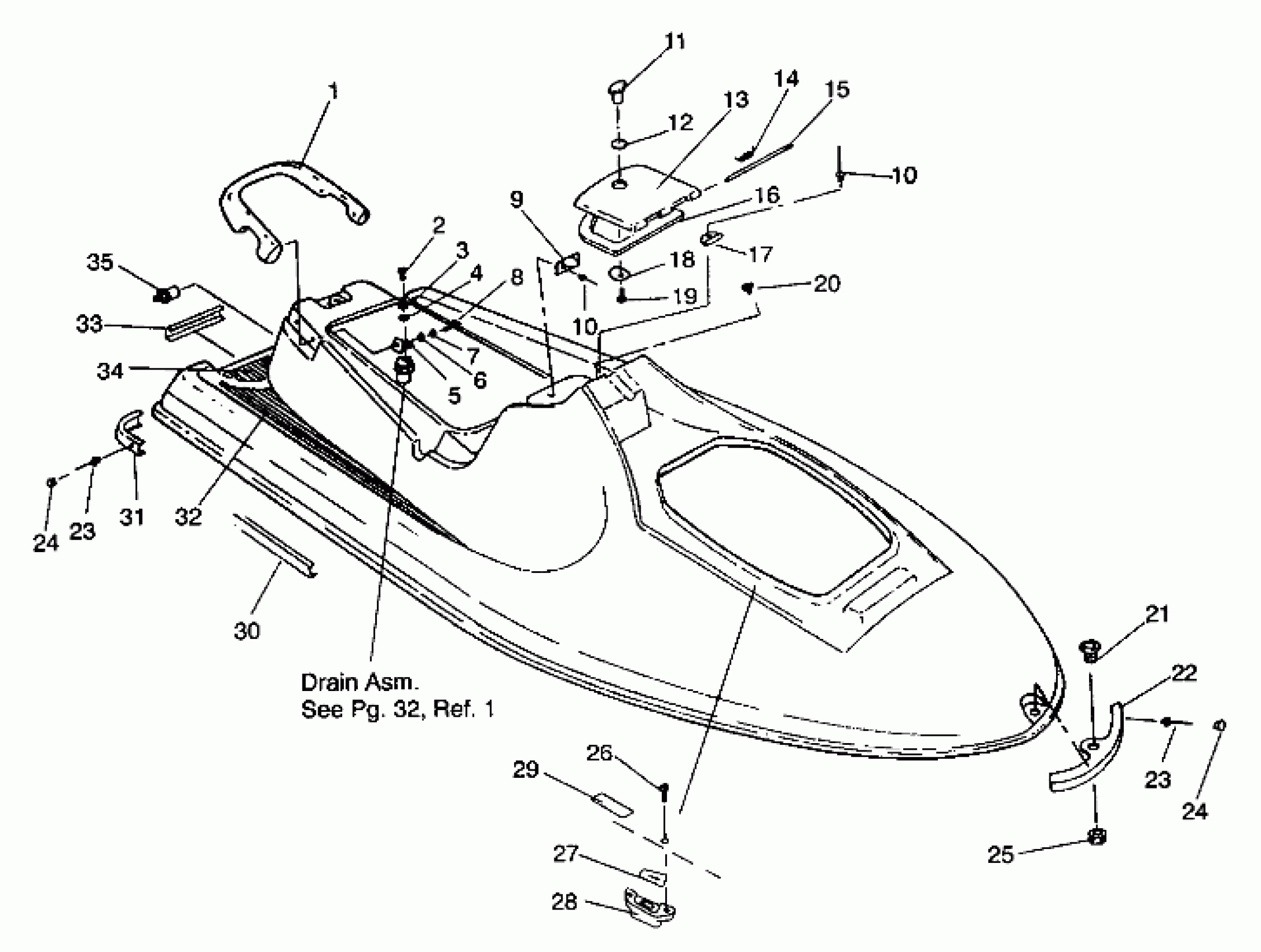
1
HANDLE,GRAB,PUR.VEL. Substituted by 5431729-194
5431392-194
Unavailable
2
SCREW, S.S.(10)
7516805
Unavailable
3
WASHER, LOCK(10)
7552613
Unavailable
4
WASHER(10)
7555887
Unavailable
5
BRKT,SEPARATOR,WATER
5431825
Unavailable
6
WASHER, FLAT, S.S.,(10)
7555835
Unavailable
7
WASHER, LOCK, S.S.(10)
7552610
Unavailable
8
BOLT, S.S.
7515365
Unavailable
9
PLATE,CONSOLE
5240138
Unavailable
11
KNOB,CONSOLE LID,CAR.BLUE
5431514-196
Unavailable
13
LID,CONSOLE,CARIB.BLUE
5431602-196
Unavailable
14
SPRING,CONSOLE LID
7041333
Unavailable
15
PIN,HINGE
5333185
Unavailable
16
SEAL,CONSOLE
5521284
Unavailable
17
HINGE,CONSOLE LID,BLUE
5431515-196
Unavailable
18
LATCH,CONSOLE
5240137
Unavailable
19
SCREW, S.S.(10)
7515143
Unavailable
21
GROMMET,BOW,PURP.VELVET
5431608-194
Unavailable
22
BUMPER,FR,PURP.VELVET Substituted by 5410978-194
5410790-194
Unavailable
23
RIVET Substituted by 7621511
7621510
Unavailable
23
RIVET Substituted by 7621511
7621510
Unavailable
24
PLUG,R.BUMPER Substituted by 5431994-194
5431560-194
Unavailable
24
PLUG,R.BUMPER Substituted by 5431994-194
5431560-194
Unavailable
25
GROMMET,NUT-BOW,PURP.VELVET
5431609-194
Unavailable
26
SCREW(10)
7512049
Unavailable
27
SEAL,DOOR SUPPORT
5810571
Unavailable
28
STOP,DOOR SUPPORT Substituted by 5431960
5431446
Unavailable
29
DECAL,DOOR,COMPARTMENT
7073717
Unavailable
30
RAIL,RUB,SIDE,PURP.VELVET
5521307-194
Unavailable
30
RAIL,RUB,RH,PURP.VELVET
5521314-194
Unavailable
31
BUMPER,LH,R.,PUR.VEL. Substituted by 2201026-194
5431561-194
Unavailable
31
BUMPER,RH,R.,PUR.VEL. Substituted by 2201026-194
5431562-194
Unavailable
32
PAD,RH,CTR.F'WELL,P.VLT.
5810868-194
Unavailable
32
PAD,RH,F.F'WELL,P.VLT. Substituted by 5811476-194
5810870-194
Unavailable
33
RAIL,RUB,REAR,PURP.VELVET
5521308-194
Unavailable
34
PAD,R.FOOTWELL,PUR.VLT.
5810880-194
Unavailable
35
PLUG,BAIL,7/8
7010076
Unavailable
