- Partiron
- OEM Parts
- Polaris
- Watercraft
- PWC
- 1996
- SLT 780 - B964588
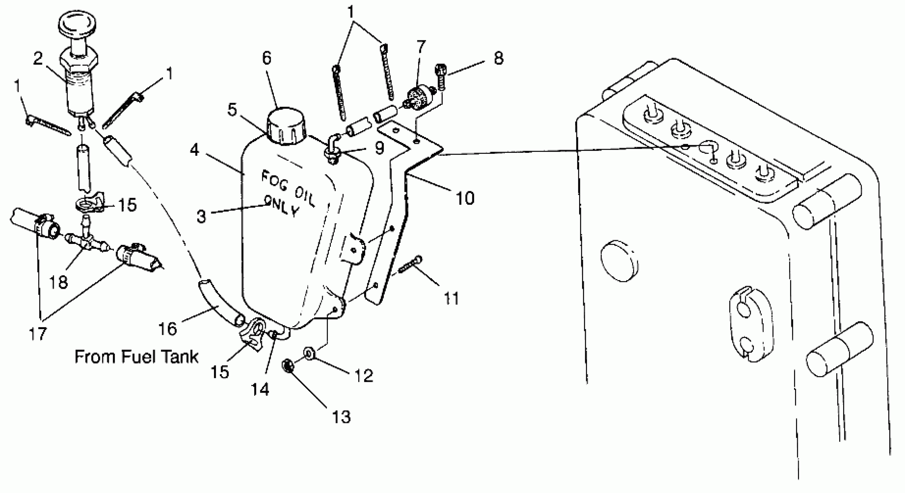
ENGINE FOGGING SYSTEM Intl. SLT 780 I964588 (4935683568C010)
Polaris SLT 780 - B964588 ENGINE FOGGING SYSTEM Intl. SLT 780 I964588 (4935683568C010) Diagram
#
Description
Price
-
FLUSH KIT(NON-FICHT ENGINES)
2871443
Unavailable
1
STRAP, PANDUIT,4 IN.(10)
7080483
Unavailable
1
STRAP, PANDUIT,4 IN.(10)
7080483
Unavailable
1
STRAP, PANDUIT,4 IN.(10)
7080483
Unavailable
2
PRIMER,ENG.,FOG
3160114
Unavailable
3
DECAL,"FOG.OIL ONLY"
7075732
Unavailable
4
TANK,OIL,FOG KIT
5432362
Unavailable
6
CAP,OIL BOTTLE
5432359
Unavailable
7
CHECKVALVE,VENT Substituted by 7051011
7052047
Unavailable
8
Bolt (See Pg., Ref.)
-------
Unavailable
10
BRKT, OILTANK
5241622
Unavailable
12
WASHER, FLAT, S.S.(10)
7555837
Unavailable
14
FITTING, 90 DEG.
7052138
Unavailable
15
CLAMP, HOSE(10)
7080484
Unavailable
15
CLAMP, HOSE(10)
7080484
Unavailable
16
OILLINE,(OD=5/16,ID=1/8) Substituted by 8450062-2
8450062
Unavailable
18
FITTING,T
7052139
Unavailable
