Partiron

Polaris SLT 700 - B974572 DRAIN SLT 700 B974572 (4941124112C007) Diagram

#

Description
Price

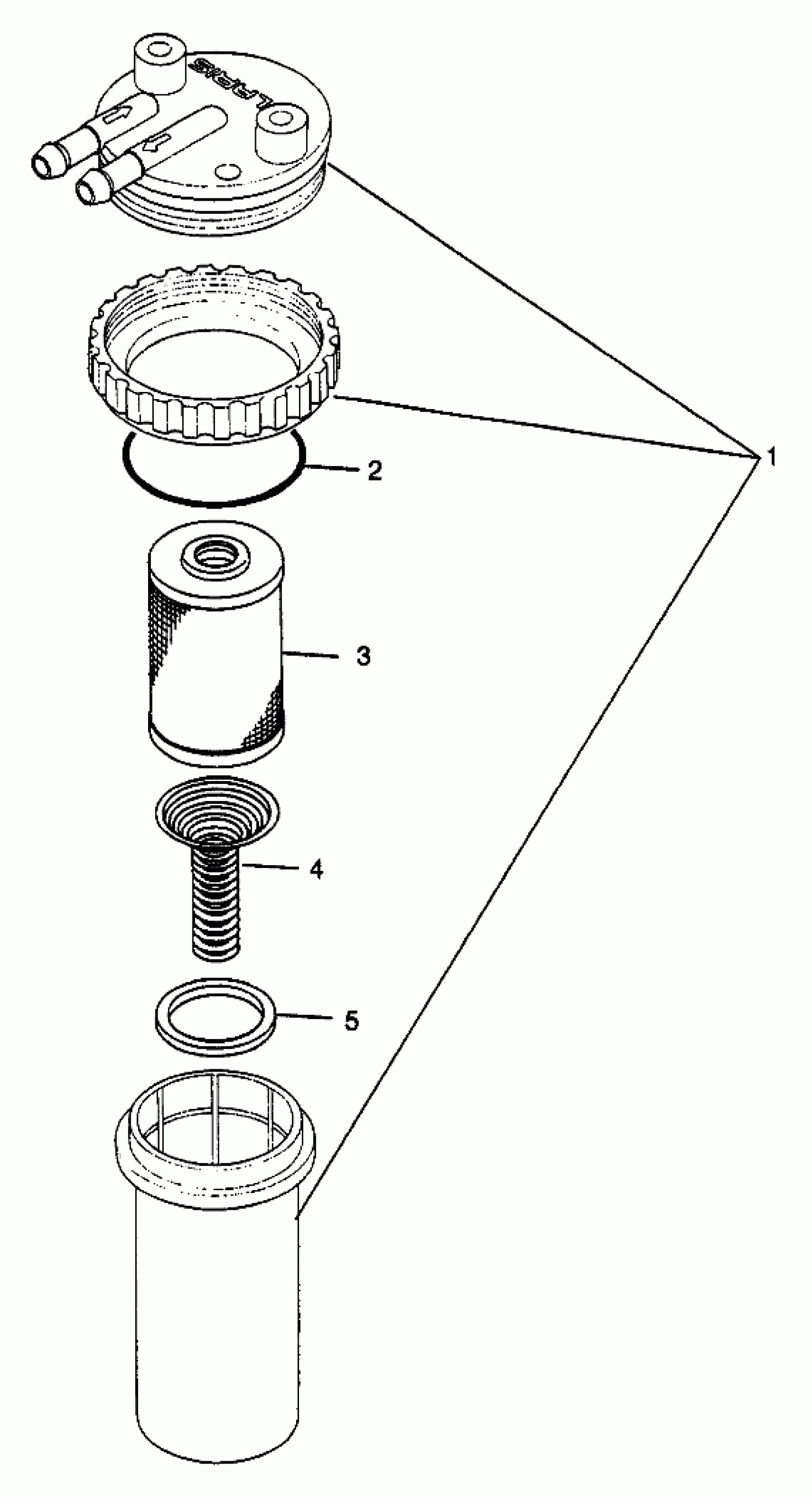
1

DRAIN ASM. (Incl. 2-5)

3240220

Unavailable

2

O-Ring

3240209

Unavailable

3

ELEMENT, DRAIN ASM.

3240239

Unavailable

4

SPRING,DRAIN ASM.

3240238

Unavailable

5

Float

3240240

Unavailable