- Partiron
- OEM Parts
- Polaris
- Motorcycle
- SLINGSHOT
- 2019
- SLINGSHOT ALL OPTIONS (R04) - T19AAPF/AARF/AASF
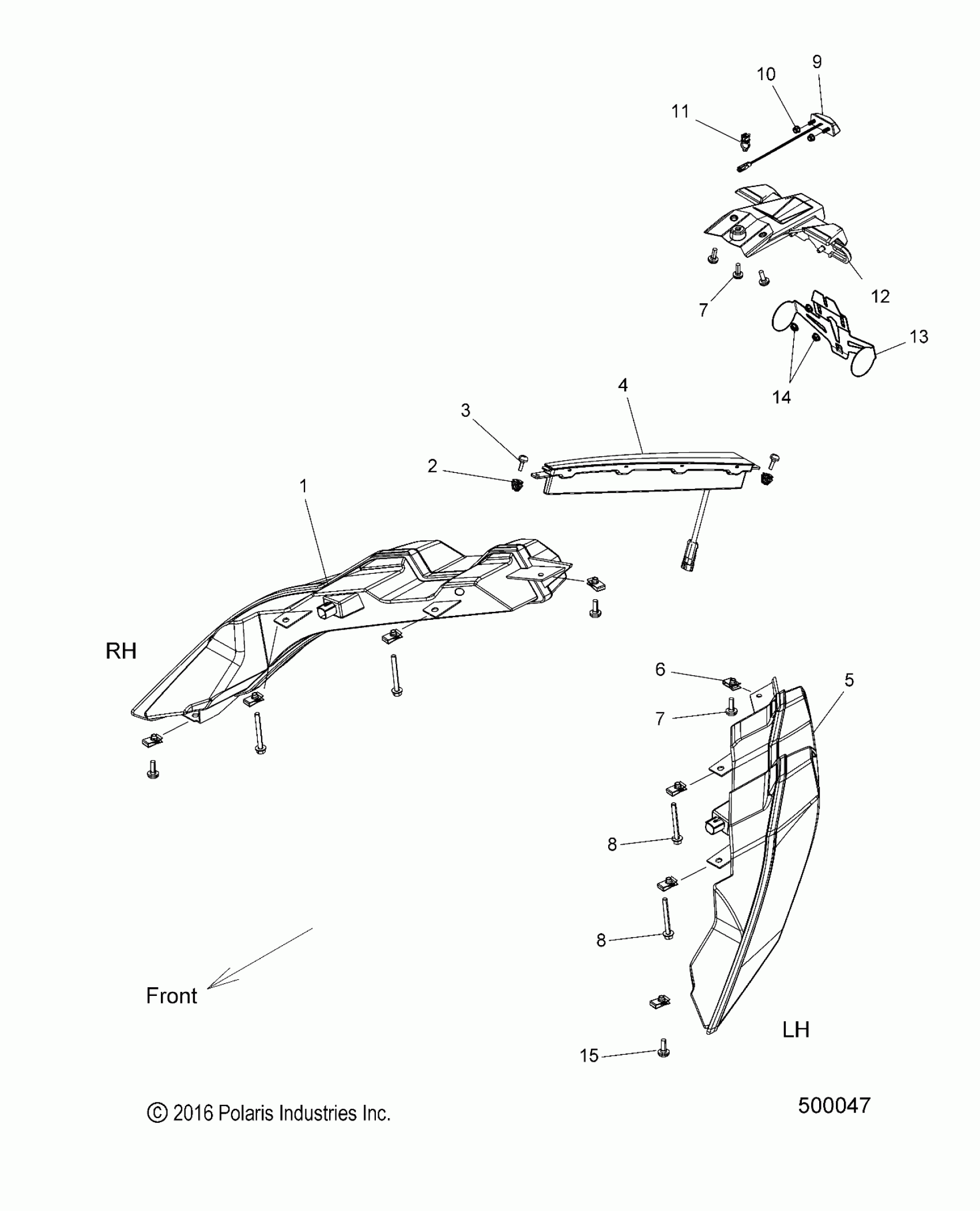
ELECTRICAL, REAR LIGHTING - T19AAPF/AARF/AASF ALL OPTIONS (500047)
Polaris SLINGSHOT ALL OPTIONS (R04) - T19AAPF/AARF/AASF ELECTRICAL, REAR LIGHTING - T19AAPF/AARF/AASF ALL OPTIONS (500047) Diagram
#
Description
Price
1
ASM., RH, REAR,TAILLIGHT/TURN/STOP/RVRS. LIGHT
2411871
Unavailable
4
LAMP, CENTER HI MNT. STOP
2413294
Unavailable
5
ASM., LH, REAR,TAILLIGHT/TURN/STOP/RVRS. LIGHT
2411870
Unavailable
7
SCREW
7520011
Unavailable
7
SCREW
7520011
Unavailable
9
LAMP-LICENSE PLATE,EU/US
2412682
Unavailable
11
CLIP, HARNESS
7081967
Unavailable
12
MOUNT, LICENSE PLATE
5439679
Unavailable
13
BRKT., LICENSE PLATE, FBLK
5255399-463
Unavailable
