Partiron

Polaris SLH - B984673 WATER SIPHON - I984673 (4945164516b014) Diagram

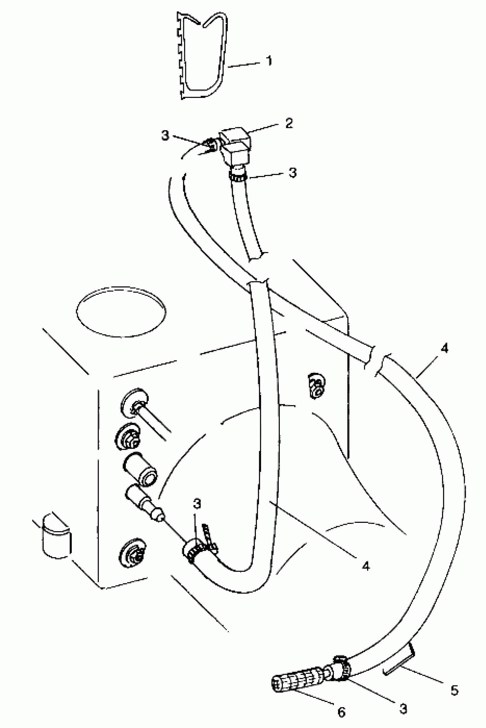
#

Description
Price

1

CONDUIT,WIRE,2.5CM

5521286-2.5

Unavailable

2

ELBOW,SIPHON HOSE

5431409

Unavailable

3

CABLE-TIE,DIA12-50MM,WTHR-RES.

7080138

$2.41

3

CABLE-TIE,DIA12-50MM,WTHR-RES.

7080138

$2.41

3

CABLE-TIE,DIA12-50MM,WTHR-RES.

7080138

$2.41

3

CABLE-TIE,DIA12-50MM,WTHR-RES.

7080138

$2.41

4

FUELLINE,3/18 ID,600CM. Substituted by 2871058

8450051-600

Unavailable

4

FUELLINE,3/18 ID,600CM. Substituted by 2871058

8450051-600

Unavailable

5

ANCHOR, CABLE TIE(10)

7080464

Unavailable

6

PICKUP,SIPHON,W/STRAINER

5432036

Unavailable