- Partiron
- OEM Parts
- Polaris
- Watercraft
- PWC
- 1998
- SLH - B984673
TRIM PACKAGE - I984673 (4945164516b005)
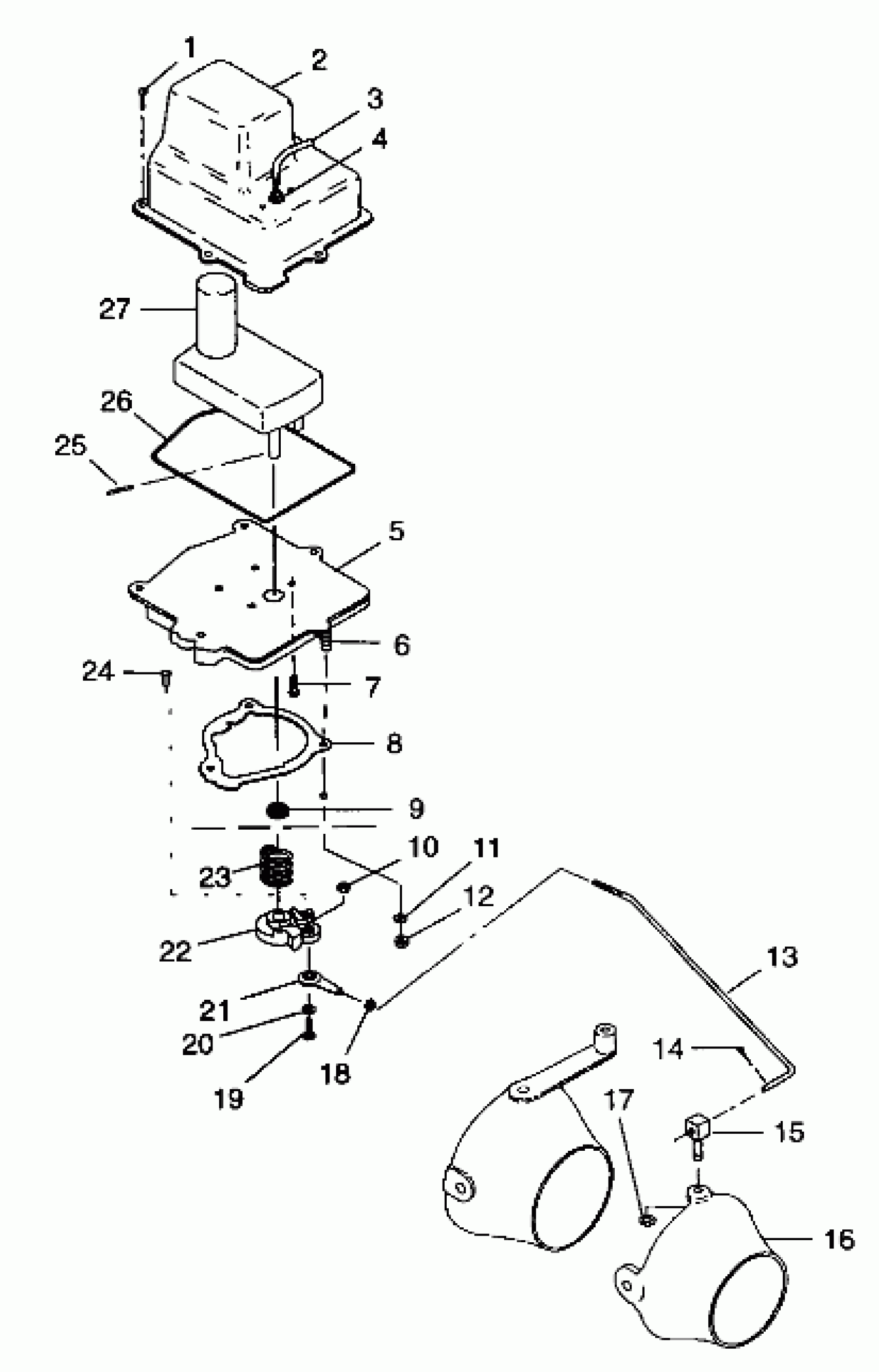
Polaris SLH - B984673 TRIM PACKAGE - I984673 (4945164516b005) Diagram
#
Description
Price
1
SCREW(10)
7512052
Unavailable
2
COVER,TRIM MTR.
5431551
Unavailable
3
HARNESS,TRIM,2HOLE GROMMET
2460635
Unavailable
4
GROMMET,TRIM INDIC.
5410778
Unavailable
5
BASE, MOTOR Substituted by 5630798
5630543
Unavailable
6
STUD,S.S.(10)
5131050
Unavailable
7
SCREW(10)
7511872
Unavailable
8
GASKET, MOTOR BASE
5810818
Unavailable
9
SEAL, OIL
3610042
Unavailable
11
WASHER, FLAT, S.S.(10)
7555839
Unavailable
12
NUT,NYLOK,S.S.(10)
7542133
Unavailable
13
LINKAGE,THREADED
5224670
Unavailable
15
SWIVEL,ROD END
5131463
Unavailable
16
Nozzle, Trim (See Footnote) (See Propulsion Pg. B4, Ref. 14)
-------
Unavailable
17
WASHER(10)
7555866
Unavailable
18
NUT (10)
1860102
Unavailable
19
BOLT, S.S.(10)
7512041
Unavailable
20
WASHER, FLAT, S.S.(10)
7555837
Unavailable
21
ROD END, S.S.
7060154
Unavailable
22
LEVER, TRIM
5431550
Unavailable
23
SPRING,TRIM,HVY.
7041469
Unavailable
24
SCREW(10)
7511873
Unavailable
25
PIN, DRIVE Substituted by 7661418
7661417
Unavailable
26
O RING,MTR.COVER
5410756
Unavailable
27
GEAR ASM, MOTOR
4170004
Unavailable
