#
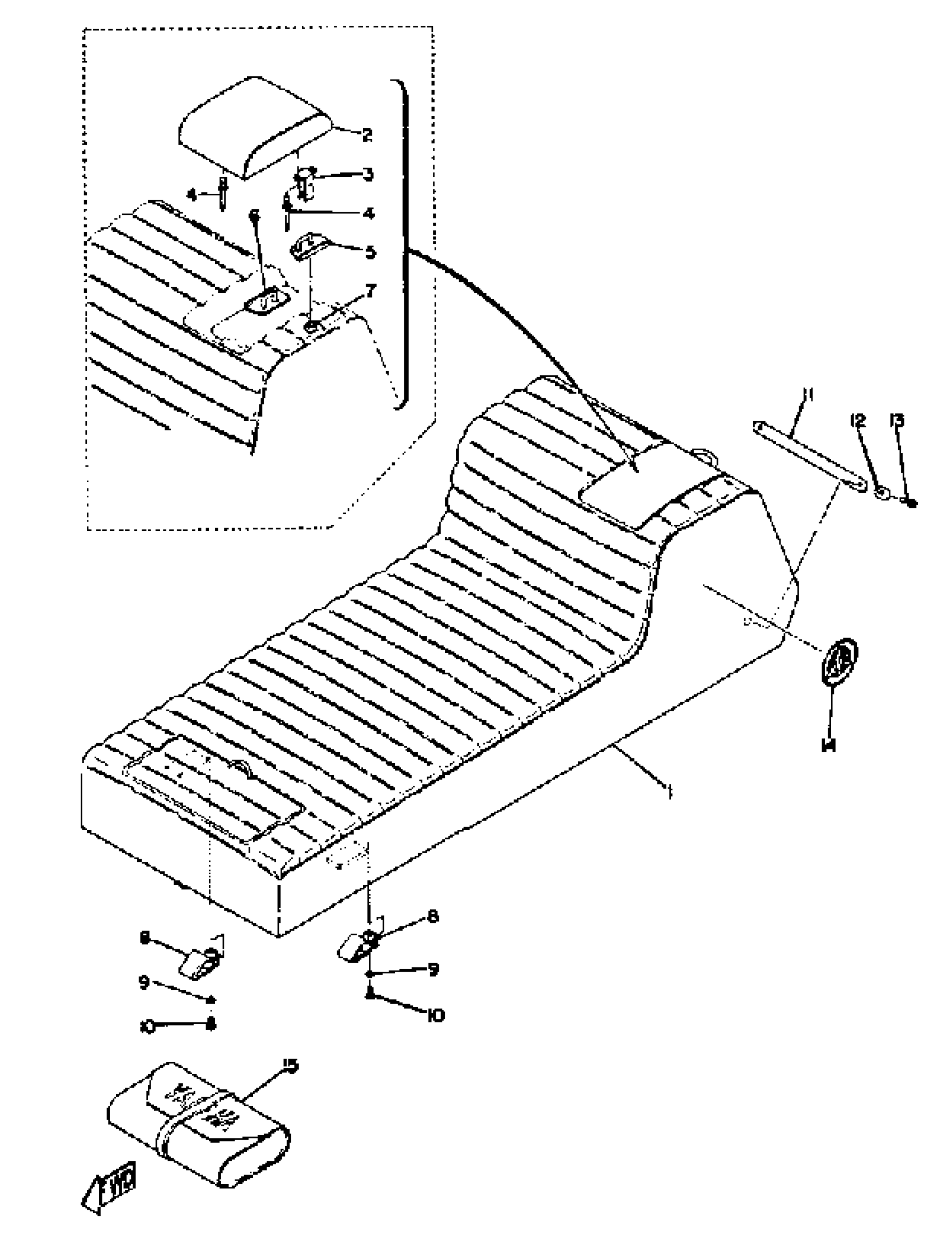
1
(822-24730-00-00)
Unavailable
1
822-24731-00-00
Unavailable
2
821-24765-00-00
Unavailable
3
(821-24794-00-00)
Unavailable
4
(90267-32016-00)
Unavailable
5
(821-24793-00-00)
Unavailable
6
(821-24784-00-00)
Unavailable
8
(809-24744-00-00)
Unavailable
9
92995-06100-00
Unavailable
11
(813-24746-00-00)
Unavailable
12
(90215-07064-00)
Unavailable
14
821-77352-00-00
Unavailable
15
(810-28100-00-00)
Unavailable
Edit ride
