- Partiron
- OEM Parts
- Yamaha
- snowmobile
- 1972
- SL433 1972
BUMPER
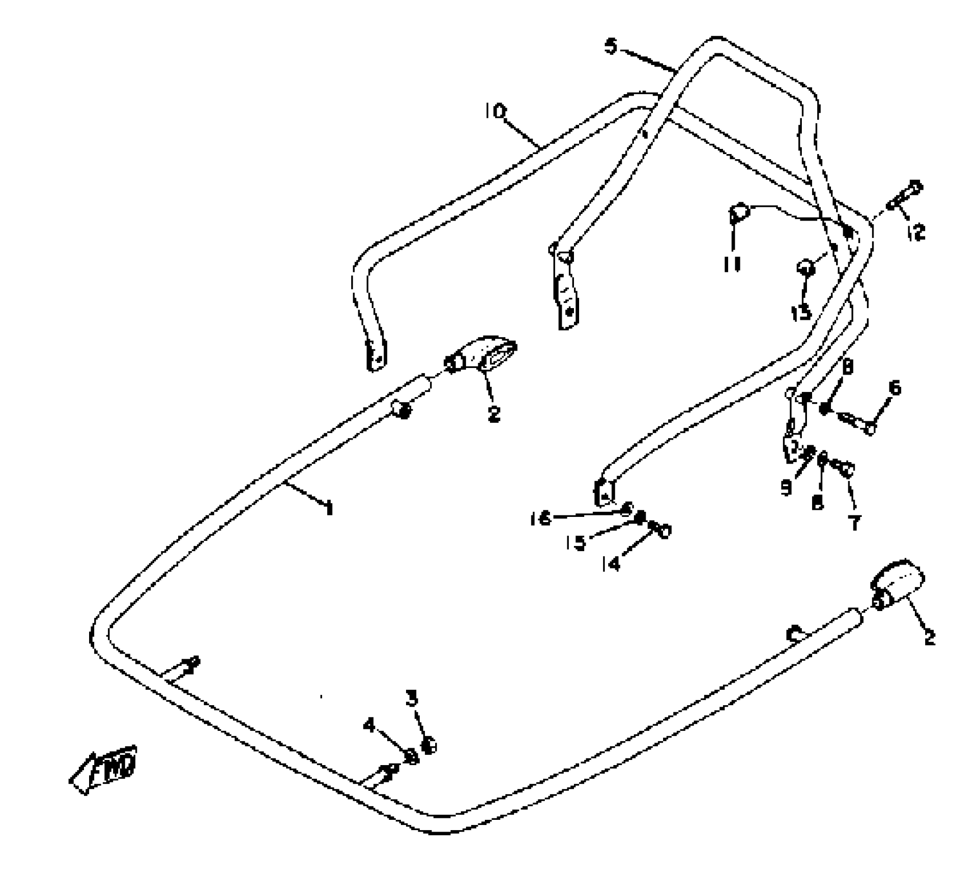
Yamaha SL433 1972 BUMPER Diagram
#
Description
Price
1
FRONT BUMPER (806-77510-00)
821-77510-00-00
Unavailable
2
END, BUMPER
821-77523-00-00
Unavailable
5
BUMPER, REAR 1
822-77541-00-00
Unavailable
6
BOLT
97013-08045-00
Unavailable
9
WASHER, PLAIN
92990-08200-00
Unavailable
10
GRIP, ASSIST 1
822-77571-00-00
Unavailable
11
BUSH, RUBBER 1
(806-77515-00-00)
Unavailable
12
SCREW
92601-06050-00
Unavailable
13
NUT, SPECIAL
806-77573-00-00
Unavailable
15
WASHER, SPRING
92995-06100-00
Unavailable
16
YBS66-6 WASHER, PLAIN
92990-06200-00
Unavailable
