- Partiron
- OEM Parts
- Yamaha
- snowmobile
- 1971
- SL338B 1971
STEERING
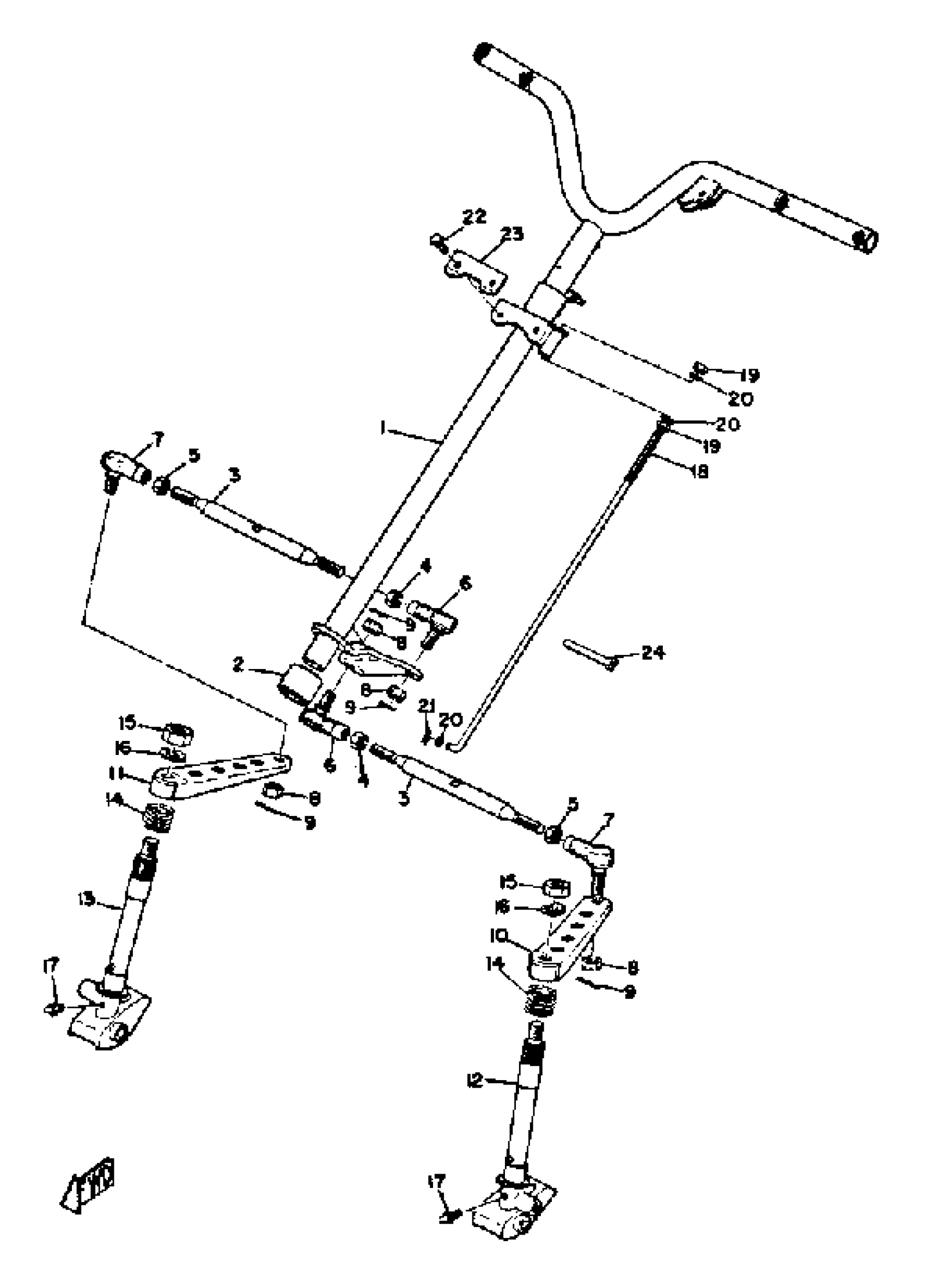
Yamaha SL338B 1971 STEERING Diagram
#
Description
Price
1
COLUMN, STEERING
(810-23811-00-00)
Unavailable
1
COLUMN, STEERING
(822-23811-00-00)
Unavailable
2
BEARING, STRG LOWER
(806-23875-00-00)
Unavailable
3
ROD, STEERING RELAY
810-23821-01-00
Unavailable
4
. NUT, HEXAGON (802-23833-00)
90170-10082-00
Unavailable
5
NUT, HEXAGON
(90170-10135-00)
Unavailable
6
JOINT, UNIVERSAL 1
(806-23841-91-00)
Unavailable
7
JOINT, UNIVERSAL 2
806-23845-91-00
Unavailable
8
NUT, CASTLE
90171-10002-00
Unavailable
10
ARM, OUTSIDE 1
(810-23851-00-00)
Unavailable
11
ARM, OUTSIDE 1
(810-23851-00-00)
Unavailable
12
COLUMN, SKI 1
810-23853-00-00
Unavailable
12
COLUMN, SKI 1
(816-23853-00-00)
Unavailable
13
COLUMN, SKI 2
810-23854-00-00
Unavailable
13
COLUMN, SKI 2
(816-23854-00-00)
Unavailable
14
SPRING, COMPRESSION
90501-35154-00
Unavailable
15
NUT, HEXAGON
95337-12600-00
Unavailable
16
WASHER, LOCK (810-23857-00)
90215-12031-00
Unavailable
17
NIPPLE, GREASE
93700-06M03-00
Unavailable
18
BAR, TENSION
(810-23861-00-00)
Unavailable
19
NUT(JN5)
95317-06700-00
Unavailable
20
WASHER(6TA)
92907-06200-00
Unavailable
21
CLIP (156-83525-00)
90468-10050-00
Unavailable
22
BOLT, HEXAGON
97017-06016-00
Unavailable
23
WASHER, LOCK 1
(810-23894-00-00)
Unavailable
24
BAND, SWITCH CORD
437-83936-01-00
Unavailable
