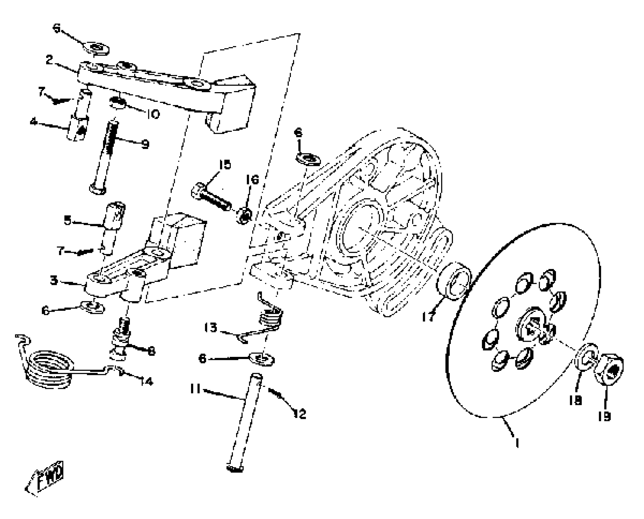
Yamaha SL338 1969 BRAKE Diagram
#
Description
Price
1
DISC, BRAKE
(806-25711-00-00)
Unavailable
2
CALIPER BODY 2
(806-25740-00-00)
Unavailable
3
CALIPER BODY 1
(806-25730-00-00)
Unavailable
4
PIN 1
(801-25734-00-00)
Unavailable
5
PIN 2
(801-25744-00-00)
Unavailable
6
WASHER, PLAIN
92990-08200-00
Unavailable
8
HOOK, SPRING
(801-25736-00-00)
Unavailable
9
BOLT, HEXAGON W/W DEEP RECESS
97E95-06555-00
Unavailable
11
PIN, CLEVIS
(91501-08070-00)
Unavailable
13
SPRING, TORSION
(90508-23193-00)
Unavailable
14
SPRING, TORSION
90508-29049-00
Unavailable
17
COLLAR
90387-17133-00
Unavailable
18
YBS67-12 WASHER,SPRING
92990-12100-00
Unavailable
19
NUT, HEXAGON SMALL
95317-12700-00
Unavailable
