- Partiron
- OEM Parts
- Honda
- MOTORCYCLE
- Models With No Year
- SL175A MOTORCYCLE, JPN, VIN# SL175-1000001
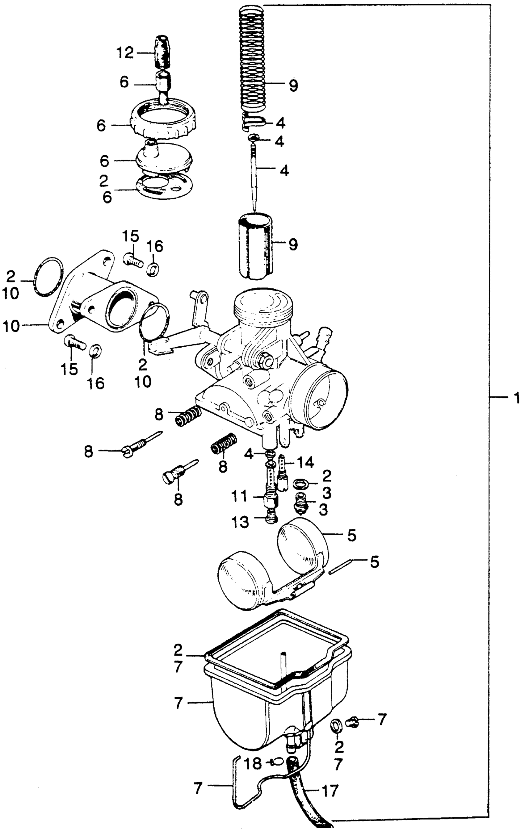
LEFT CARBURETOR
Honda SL175A MOTORCYCLE, JPN, VIN# SL175-1000001 LEFT CARBURETOR Diagram
#
Description
Price
1
CARBURETOR ASSY., L. (NOT AVAILABLE) This part replaces 16102-313-014.
16102-313-034
Unavailable
4
NEEDLE SET, JET (NOT AVAILABLE)
16012-313-004
Unavailable
6
TOP SET
16014-116-700
Unavailable
6
TOP SET This part replaces 16014-116-704.
16014-116-700
Unavailable
6
TOP SET This part replaces 16014-306-004.
16014-116-700
Unavailable
7
CHAMBER SET A, FLOAT (NOT AVAILABLE)
16015-304-004
Unavailable
8
SCREW SET A
16016-046-004
Unavailable
9
VALVE SET B, THROTTLE (NOT AVAILABLE)
16027-304-004
Unavailable
10
ADAPTER SET A, FLANGE (NOT AVAILABLE)
16033-306-004
Unavailable
11
HOLDER, NEEDLE JET (NOT AVAILABLE)
16139-304-004
Unavailable
13
JET, MAIN (#92)
99114-246-0920
Unavailable
14
JET, SLOW (#38)
99124-089-0381
Unavailable
14
JET, SLOW (#38) This part replaces 99124-303-0380.
99124-089-0381
Unavailable
14
JET, SLOW (#38) This part replaces 99124-304-0380.
99124-089-0381
Unavailable
14
JET, SLOW (#38) This part replaces 99154-03804.
99124-089-0381
Unavailable
