- Partiron
- OEM Parts
- Honda
- MOTORCYCLE
- Models With No Year
- SL125K1A MOTORCYCLE, JPN, VIN# SL125S-1100001
CARBURETOR
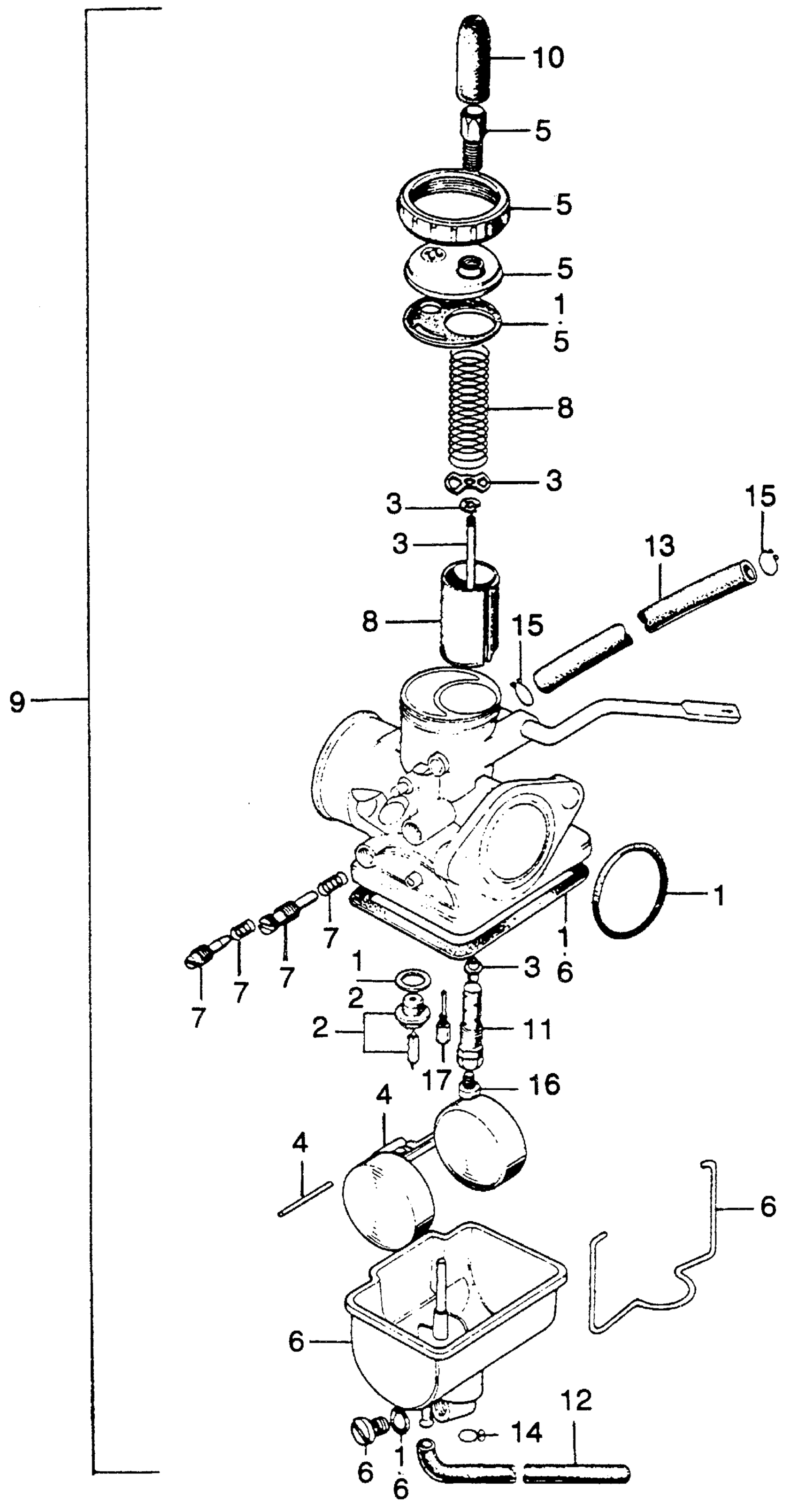
Honda SL125K1A MOTORCYCLE, JPN, VIN# SL125S-1100001 CARBURETOR Diagram
#
Description
Price
3
NEEDLE SET, JET (NOT AVAILABLE)
16012-331-770
Unavailable
5
TOP SET (NOT AVAILABLE)
16014-107-711
Unavailable
6
CHAMBER SET A, FLOAT (NOT AVAILABLE)
16015-107-710
Unavailable
7
SCREW SET A
16016-KJ2-671
Unavailable
7
SCREW SET A This part replaces 16016-035-004.
16016-KJ2-671
Unavailable
8
VALVE SET, THROTTLE (NOT AVAILABLE)
16022-331-004
Unavailable
9
CARBURETOR ASSY. (NOT AVAILABLE) This part replaces 16100-331-770.
16100-331-771
Unavailable
9
CARBURETOR ASSY. (NOT AVAILABLE)
16100-331-771
Unavailable
11
HOLDER, NEEDLE JET (NOT AVAILABLE)
16139-107-710
Unavailable
16
JET, MAIN (#98)
99114-246-0980
Unavailable
