- Partiron
- OEM Parts
- Polaris
- Watercraft
- PWC
- 1996
- SL 780 - B964087
FUEL TANK SL 780 B964087 and Intl. SL 780 I964087 (4935523552A009)
Polaris SL 780 - B964087 FUEL TANK SL 780 B964087 and Intl. SL 780 I964087 (4935523552A009) Diagram
#
Description
Price
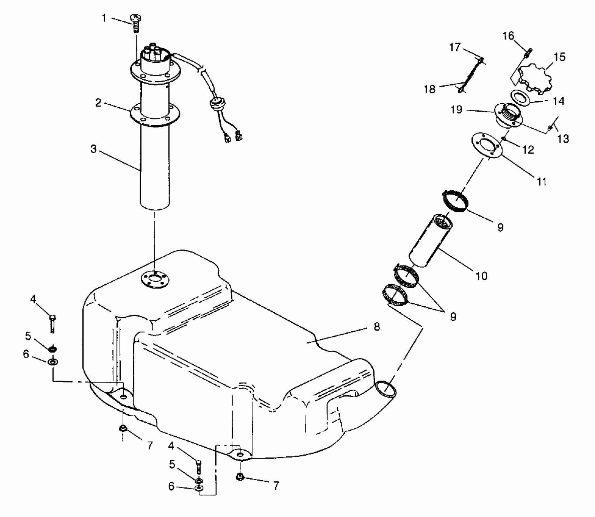
3
SENDER/PICKUP ASM,W/O RES,
2410048
Unavailable
4
BOLT, S.S.
7515365
Unavailable
4
BOLT, S.S.
7515365
Unavailable
5
WASHER, LOCK, S.S.(10)
7552610
Unavailable
5
WASHER, LOCK, S.S.(10)
7552610
Unavailable
6
WASHER, S.S.(10)
7555834
Unavailable
6
WASHER, S.S.(10)
7555834
Unavailable
7
BUSHING,FUEL,TANK(10)
5333114
Unavailable
7
BUSHING,FUEL,TANK(10)
5333114
Unavailable
8
TANK,FUEL,9.8 GAL.
5431939
Unavailable
10
HOSE,FILL,FUEL
5410969
Unavailable
11
SEAL,FUEL INLET
5810931
Unavailable
12
WASHER, FLAT, S.S.(10)
7555837
Unavailable
13
RIVET,(50)
7621491
Unavailable
14
GASKET,FUEL CAP Substituted by 2872029
5810871
Unavailable
15
CAP ASM,FUEL Substituted by 2872029
2653009
Unavailable
16
SCREW(10)
7511873
Unavailable
17
Coupling
7080442
Unavailable
18
CHAIN Substituted by 7080710
7080440
Unavailable
19
INLET,FUEL,BLK(PWC) Substituted by 2872029
5432613-070
Unavailable
19
INLET ASM,FUEL CAP (Incl. 11-19)
2872029
Unavailable
