- Partiron
- OEM Parts
- Polaris
- Watercraft
- PWC
- 1994
- SL 750 - B944070
TRIM PACKAGE SL 750 B944070 (4927012701014A)
Polaris SL 750 - B944070 TRIM PACKAGE SL 750 B944070 (4927012701014A) Diagram
#
Description
Price
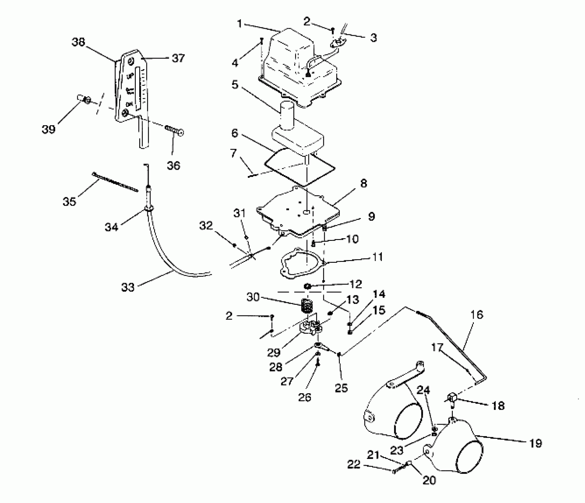
1
COVER,TRIM MTR.
5431551
Unavailable
2
SCREW(10)
7511873
Unavailable
2
SCREW(10)
7511873
Unavailable
3
HARNESS,TRIM
2460481
Unavailable
4
SCREW(10) Substituted by 7512052
7512055
Unavailable
5
GEAR ASM, MOTOR
4170004
Unavailable
6
O RING,MTR.COVER
5410756
Unavailable
7
PIN, DRIVE Substituted by 7661418
7661417
Unavailable
8
BASE, MOTOR
5630448
Unavailable
9
STUD,S.S.(10)
5131050
Unavailable
10
SCREW(10)
7511872
Unavailable
11
GASKET, MOTOR BASE
5810818
Unavailable
12
SEAL, OIL
3610042
Unavailable
14
WASHER, LOCK, S.S.(10)
7555838
Unavailable
15
NUT,NYLOK,S.S.(10)
7542133
Unavailable
16
LINKAGE,THREADED
5224492
Unavailable
18
SWIVEL, ROD END Substituted by 5131463
5130939
Unavailable
19
NOZZLE,TRIM
5431765
Unavailable
20
Collar
5130938
Unavailable
22
BOLT, S.S.(10)
7515361
Unavailable
23
RING-E,RET.(10)
7710427
Unavailable
24
WASHER(10)
7555866
Unavailable
25
NUT (10)
1860102
Unavailable
26
BOLT, S.S.(10)
7512041
Unavailable
27
WASHER, FLAT, S.S.(10)
7555837
Unavailable
28
ROD END, S.S.
7060154
Unavailable
29
LEVER, TRIM
5431550
Unavailable
30
SPRING,GEAR RETAINING Substituted by 7041469
7041298
Unavailable
32
RING,RETAINING,EXT.(10)
7710428
Unavailable
33
CABLE,TRIM INDICATOR
7080497
Unavailable
34
GROMMET,TRIM MOTOR
5410771
Unavailable
37
TRIM,INDIC.,WHITE
5431564-133
Unavailable
38
DECAL, INDICATOR
7073866
Unavailable
