- Partiron
- OEM Parts
- Polaris
- Watercraft
- PWC
- 1994
- SL 750 - B944070
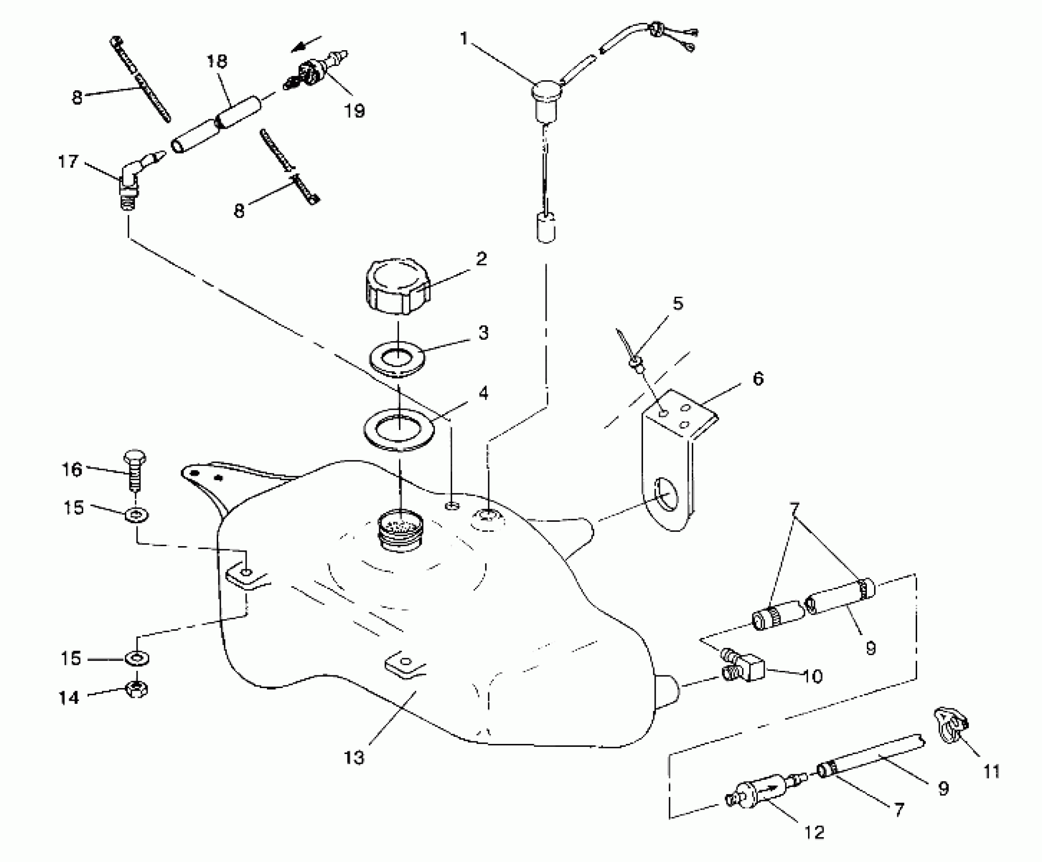
OIL TANK SL 750 B944070 (4927012701008A)
Polaris SL 750 - B944070 OIL TANK SL 750 B944070 (4927012701008A) Diagram
#
Description
Price
1
SENDER ASM,OIL LEVEL
2410031
Unavailable
4
GASKET,INLET,OILTANK
5810557
Unavailable
5
RIVET
7621478
Unavailable
6
HANGER, OIL TANK
5222688
Unavailable
8
STRAP, PANDUIT,4 IN.(10)
7080483
Unavailable
8
STRAP, PANDUIT,4 IN.(10)
7080483
Unavailable
9
FUEL LINE,1/4 ID(1525 CM.)
8450003-1525
Unavailable
9
FUEL LINE,1/4 ID(1525 CM.)
8450003-1525
Unavailable
10
FITTING,BRASS (90
7052102
Unavailable
11
CLAMP, HOSE(10)
7080484
Unavailable
13
TANK,OIL,(SL750) Substituted by 5432309
5431767
Unavailable
15
WASHER, FLAT, S.S.(10)
7555837
Unavailable
15
WASHER, FLAT, S.S.(10)
7555837
Unavailable
16
BOLT, S.S.(10)
7512041
Unavailable
18
FUEL LINE,3/16"IDX10FT [No Longer Available]
2871062
Unavailable
19
CHECKVALVE,VENT Substituted by 7051011
7052047
Unavailable
