- Partiron
- OEM Parts
- Polaris
- Watercraft
- PWC
- 1997
- SL 700 - B974071
HULL and BODY SL 700 B974071, Intl. SL 700 I974071, SL 700 Deluxe B974072 a (4940874087A005)
Polaris SL 700 - B974071 HULL and BODY SL 700 B974071, Intl. SL 700 I974071, SL 700 Deluxe B974072 a (4940874087A005) Diagram
#
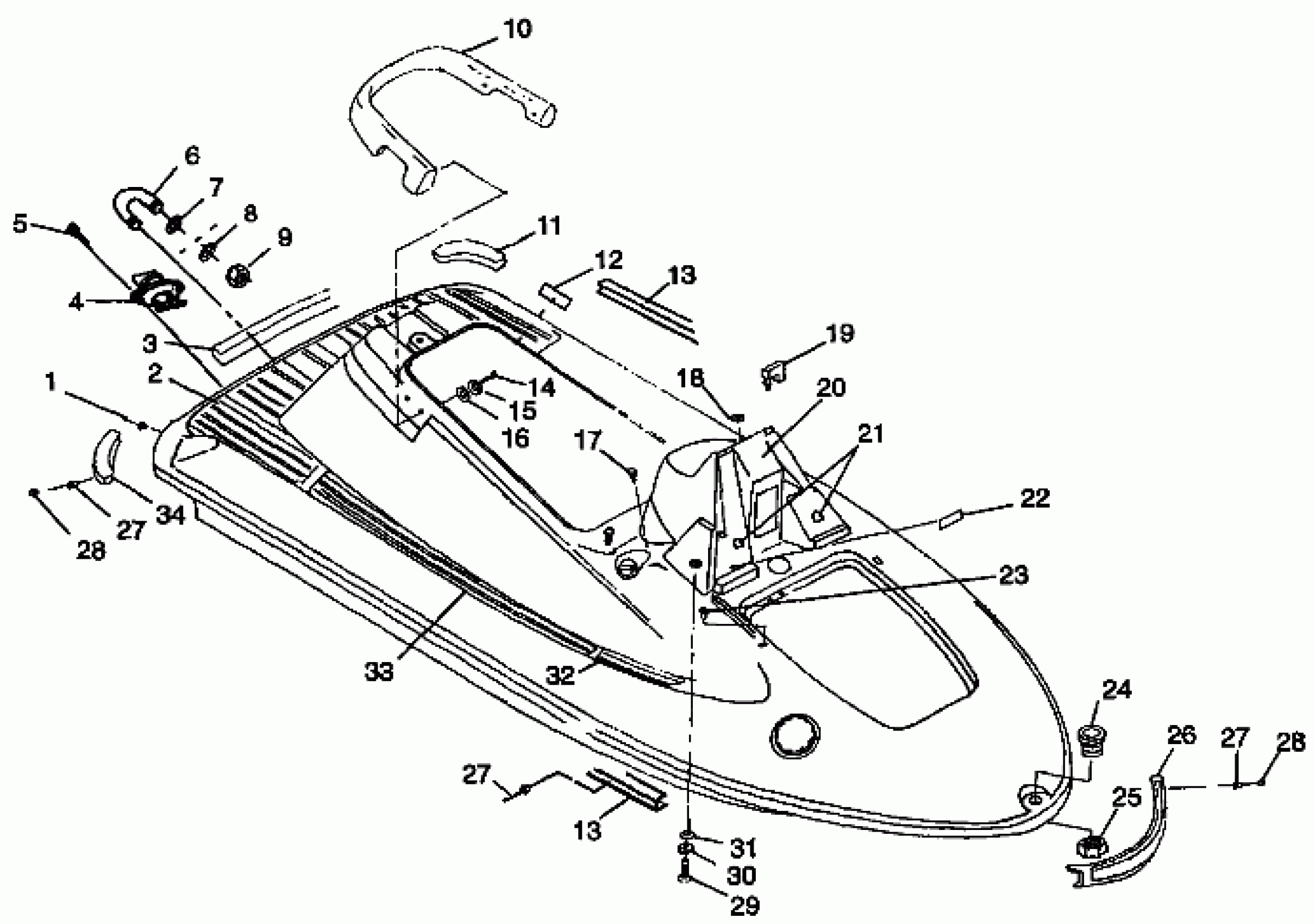
1
RIVET,(50)
7621491
Unavailable
2
PAD,R.F'WELL,W/O TOW,P.WV. (Deluxe)
5811453-214
Unavailable
2
PAD,R.F'WELL,W/O TOW,LSR.BL. (700)
5811453-217
Unavailable
3
RAIL,RUB,R,SMOOTH,TEAL MET (Deluxe)
5521412-168
Unavailable
3
RAIL,RUB,R.SMOOTH,PUR.WAVE Substituted by 2201026-214 (700)
5521412-214
Unavailable
4
PLUG ASM,BILGE
1060125
Unavailable
5
SCREW, S.S.(10)
7511882
Unavailable
6
U-BOLT ASM.
1060126
Unavailable
7
WASHER,RUBBER(10)
7555870
Unavailable
8
WASHER, FLAT, S.S.(10)
7555839
Unavailable
9
NUT,NYLOK,S.S.(10)
7542133
Unavailable
10
HANDLE,GRAB,TEAL (Deluxe)
5431392-168
Unavailable
10
HANDLE,GRAB,PUR.WAVE (700)
5431392-214
Unavailable
11
HANDLE,GRAB,TEAL (Deluxe)
5431392-168
Unavailable
11
BUMPER,LH,CORNER,PUR.WAVE Substituted by 2201026-214 (700)
5432582-214
Unavailable
12
DECAL,WARN.SEAT/ENG. Substituted by 7078311
7077196
Unavailable
13
RAIL,RUB,SIDE,SMOOTH,PUR.WAVE (Dlx.)
5521413-214
Unavailable
13
RUBRAIL,RH,SMOOTH,PUR,WAVE (700)
5521416-214
Unavailable
13
RAIL,RUB,SIDE,SMOOTH,PUR.WAVE (Dlx.)
5521413-214
Unavailable
13
RUBRAIL,RH,SMOOTH,PUR,WAVE (700)
5521416-214
Unavailable
14
BOLT, S.S.(10)
7515357
Unavailable
15
WASHER, LOCK, S.S.(10)
7552610
Unavailable
16
WASHER, FLAT, S.S.(10)
7555831
Unavailable
17
CLIP, XMASTREE(10)
7080514
Unavailable
19
BUMPER,CORNER
5431740
Unavailable
20
POD,STRG,NOTCH,LSR BLUE Substituted by 5432424-217 (SL 700)
5432146-217
Unavailable
20
POD,STRG,NOTCHED,TEAL MT (Deluxe)
5432424-168
Unavailable
21
Grommet, Vent (See Pg. A13, Ref. 12)
-------
Unavailable
22
DECAL,RECOMMENDED OIL
7074959
Unavailable
23
BUMPER,DECK
5431741
Unavailable
24
GROMMET,BOW EYE,PUR.WAVE (700)
5431950-214
Unavailable
24
GROMMET,BOW EYE,TEAL MT. (Dlx)
5431950-168
Unavailable
25
NUT,BOW EYE,PUR.WAVE (700)
5431951-214
Unavailable
25
NUT,BOW EYE,TEAL MT (Dlx)
5431951-168
Unavailable
26
BUMPER,FR,SHORT,TEAL MT Substituted by 5411230-070 (Dlx)
5411230-168
Unavailable
26
BUMPER,FR,SHORT,PUR.WAVE (700)
5411230-214
Unavailable
27
RIVET(50)
7621511
Unavailable
27
RIVET(50)
7621511
Unavailable
27
RIVET(50)
7621511
Unavailable
28
PLUG,R.BUMP,PUR.WV. (700)
5431994-214
Unavailable
28
PLUG,R.BUMP,TEAL MT. (Deluxe)
5431994-168
Unavailable
28
PLUG,R.BUMP,PUR.WV. (700)
5431994-214
Unavailable
28
PLUG,R.BUMP,TEAL MT. (Deluxe)
5431994-168
Unavailable
29
BOLT(10)
7515127
Unavailable
30
WASHER, LOCK, S.S.(10)
7555838
Unavailable
31
WASHER,S.S.(10)
7555891
Unavailable
32
PAD,F.F'WELL,GRV,P.WV. (Deluxe)
5811477-214
Unavailable
32
PAD,F.F'WELL,GRV,LSR.BL. (700)
5811477-217
Unavailable
33
PAD,CTR.F'WELL,GRV,P.WV. (Deluxe)
5811478-214
Unavailable
33
PAD,CTR.F'WELL,GRV,LSRBL (700)
5811478-217
Unavailable
34
BUMPER,RH,CORNER,TEAL (Deluxe)
5432583-168
Unavailable
34
BUMPER,RH,CORNER,PUR.WAVE Substituted by 2201026-214 (700)
5432583-214
Unavailable
