- Partiron
- OEM Parts
- Polaris
- Watercraft
- PWC
- 1996
- SL 700 - B964066
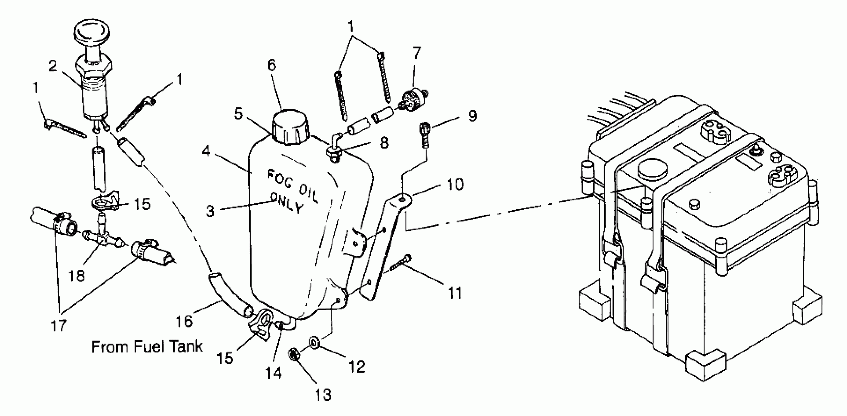
ENGINE FOGGING SYSTEM Intl. SL 700 I964066 (4935633563C001)
Polaris SL 700 - B964066 ENGINE FOGGING SYSTEM Intl. SL 700 I964066 (4935633563C001) Diagram
#
Description
Price
-
FLUSH KIT(NON-FICHT ENGINES)
2871443
Unavailable
2
PRIMER,ENG.,FOG
3160114
Unavailable
3
DECAL,"FOG.OIL ONLY"
7075732
Unavailable
4
TANK,OIL,FOG KIT
5432362
Unavailable
6
CAP,OIL BOTTLE
5432359
Unavailable
7
CHECKVALVE,VENT Substituted by 7051011
7052047
Unavailable
9
Bolt (See Pg., Ref.)
-------
Unavailable
10
BRKT, OILTANK
5241622
Unavailable
12
WASHER, FLAT, S.S.(10)
7555837
Unavailable
14
FITTING, 90 DEG.
7052138
Unavailable
15
CLAMP, HOSE(10)
7080484
Unavailable
15
CLAMP, HOSE(10)
7080484
Unavailable
16
OILLINE,(OD=5/16,ID=1/8) Substituted by 8450062-2
8450062
Unavailable
18
FITTING,T
7052139
Unavailable
