- Partiron
- OEM Parts
- Polaris
- Watercraft
- PWC
- 1995
- SL 650 STD - B954358
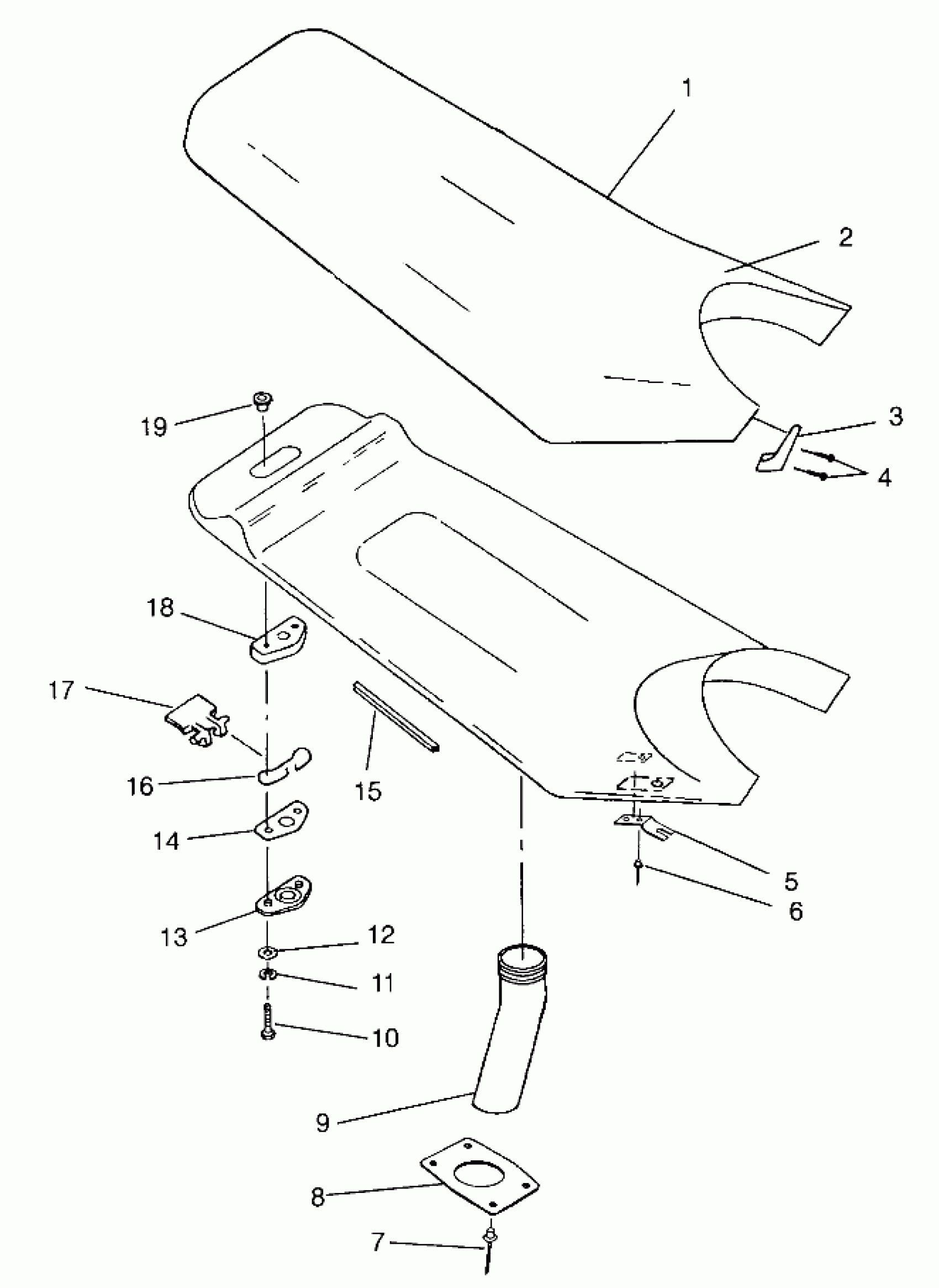
SEAT SL 650 STD B954358 (4932923292A011)
Polaris SL 650 STD - B954358 SEAT SL 650 STD B954358 (4932923292A011) Diagram
#
Description
Price
1
SEAT ASM,PWC,PUR VEL,W/O STRAP
2681909-194
Unavailable
2
COVER,SEAT,PUR.VEL.
2681726-194
Unavailable
3
SHIELD,LH SEAT,PUR.VEL.
5432124-194
Unavailable
3
SHIELD,RH SEAT,PUR.VEL.
5432125-194
Unavailable
4
SCREW(10)
7512089
Unavailable
5
CLIP,SEAT RETAINER
5222694
Unavailable
8
PLATE, RETAINER
5211347
Unavailable
9
DUCT, AIR OUTLET
5431369
Unavailable
10
BOLT, SS.(10)
7515123
Unavailable
11
WASHER, LOCK, S.S.(10)
7555838
Unavailable
12
WASHER, FLAT, S.S.(10)
7555839
Unavailable
13
PLATE,LATCH,BOT.SEAT BASE
5431357
Unavailable
14
PLATE,SEATBASE LATCH
5211314
Unavailable
15
SEAL, SEAT
5521348
Unavailable
16
SPRING,SEATBASE LATCH
7042036
Unavailable
17
HANDLE, SEAT
5431358
Unavailable
18
PLATE,TOP,SEATBASE LATCH
5431359
Unavailable
19
NUT, TEE(10)
7542137
Unavailable
