Partiron

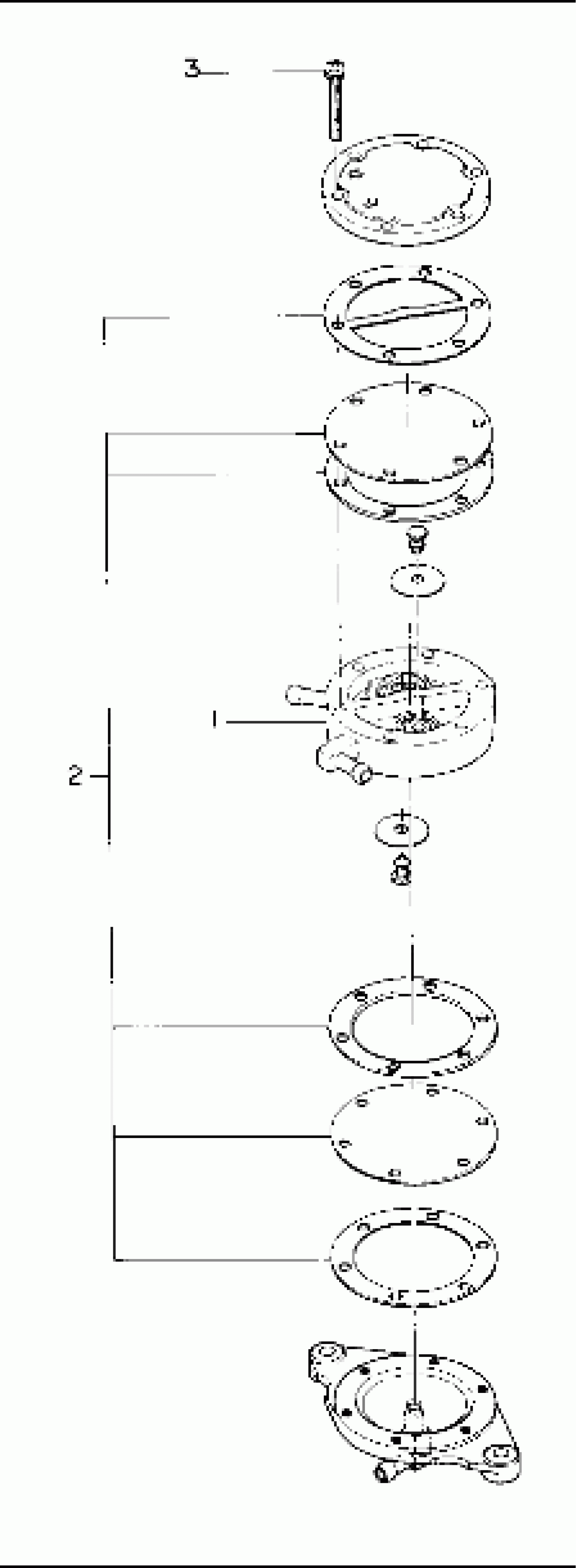
Polaris SL 650 - B924058 FUEL PUMP SL 650/B924058 (4922922292032A) Diagram

#

Description
Price

1

PUMP, FUEL

3240127

Unavailable

2

GASKET SET Substituted by 3084222

3083957

$54.99

3

SCREW W/WASHER

3081286

$54.99